EasyManua.ls Logo

Raypak MVB 5042004 - Page 31

Raypak MVB 5042004
56 pages
Print Icon
To Next Page IconTo Next Page
To Next Page IconTo Next Page
To Previous Page IconTo Previous Page
To Previous Page IconTo Previous Page
Loading...
31
Deadband: Deadband is a band of temperature sens-
ing where no action occurs. All temperature controllers
h
ave a deadband and the purpose is to prevent short-
cycling of the heater. The on-board temperature
controller has a deadband of 2ºF around the differen-
tial.
Differential: A heat source must be operated with a
temperature differential in order to prevent short-
cycling. The temperature differential is divided around
the “target” temperature or set-point. The Call For Heat
(CFH) contact will close in the controller when the
water temperature is below the target temperature by
1/2 of the differential setting, and will open when the
water temperature is above the target temperature by
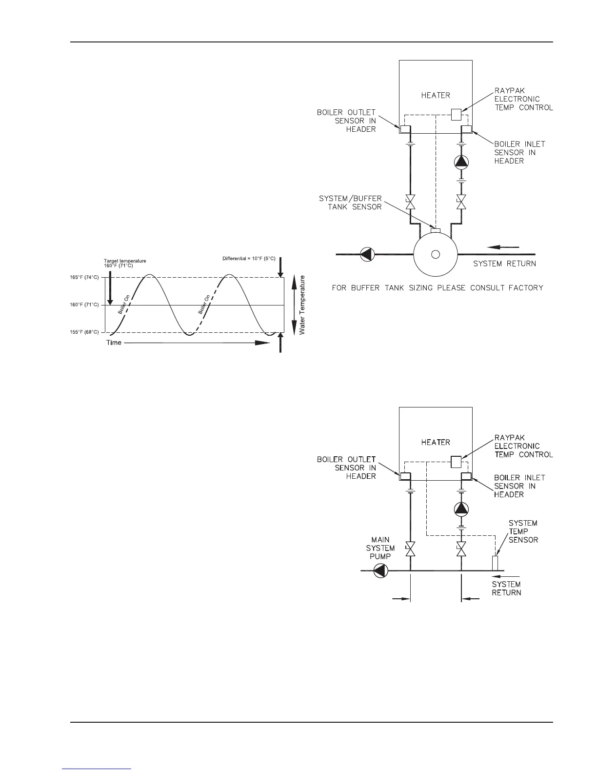
1/2 of the differential setting. See Fig. 30.
For systems with less than 4:1 turndown, the control
should be placed in the system return, upstream of the
inlet piping to the heater, as shown in Figs. 32, 34 and
35. This placement will avoid short cycling the heat
source. Raypak recommends using a smaller differen-
tial setting when controlling the water temperature on
the return side. As a starting point, set the return differ-
ential to 10ºF and this will allow the system return
temperature to vary 5ºF above and 5ºF below the set-
point.
For systems with more than 4:1 turndown, the recom-
mended location of the system (target) sensor is in the
system supply loop, downstream of the outlet piping
from the heater. When controlling systems with more
than 4:1 turndown; set the supply side differential to
20ºF and the temperature will vary ±10ºF around the
setpoint.
In lieu of installing the target sensor in the system
return, a properly-sized buffer tank can be installed as
shown in Fig. 31. Consult factory for buffer tank sizing.
Operating Modes
Mode 1 (Not supported) Setpoint operation using
primary piping. The heater outlet water temperature is
controlled to the boiler target setpoint.
Mode 2 Setpoint operation using primary/secondary
piping. The control operates the heater to satisfy a
remote system sensor. The heater is turned off based
on boiler target and boiler differential (factory default
H7, P and WHP boilers). See Fig. 32.
Mode 3 Dedicated DHW operation using UniTemp
80 piping. A call for heat is determined by the DHW
sensor and the DHW boiler target. The heater outlet
water is also controlled to the boiler target temperature
(factory default WH1 water heaters). See Fig. 33.
*
Fig. 32: Mode 2 Primary/Secondary Piping
Fig. 30: Differential Graph
Fig. 31: Buffer Tank Piping
*Maximum 4 times the pipe diameter or 12”, whichever is less.

Related product manuals