EasyManua.ls Logo

Record Power PT107 - Parts Lists & Diagrams

Record Power PT107
52 pages
Print Icon
To Next Page IconTo Next Page
To Next Page IconTo Next Page
To Previous Page IconTo Previous Page
To Previous Page IconTo Previous Page
Loading...
39
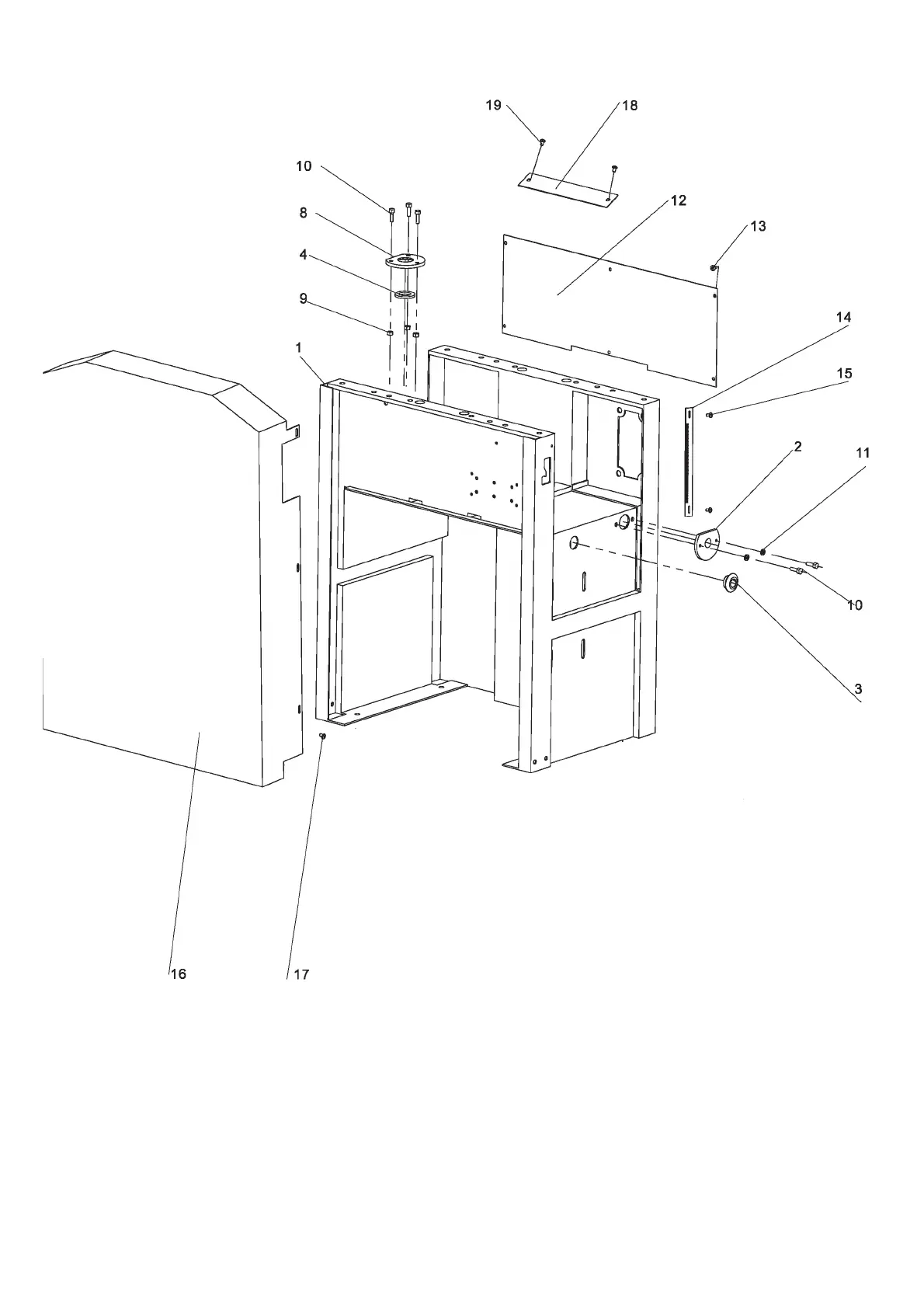
16. Parts Lists & Diagrams
NO. DESCRIPTION QUANTITY
1 Main frame 1
2 Shaft seat, thicknessing table 1
3 Seat, lock lever 1
4 Oil seal 1
8 Seat, bearing 1
9 Hex lock nut 3
10 Hex screw M6 x 16 mm 5
11 Washer 6 mm 2
NO. DESCRIPTION QUANTITY
12 Inner shield 1
13 Cross sunk head screw M5 x 6 mm 5
14 Scale, thicknessing height 1
15 Pan head screw M5 x 6 mm 5
16 Gear cover 1
17 Pan head screw M5 x 6 mm 6
18 Cover plate 2
19 Pan head screw M5 x 8 mm 4
PT107 Manual 3.2.indd 39PT107 Manual 3.2.indd 39 25/04/2022 14:44:4925/04/2022 14:44:49

Other manuals for Record Power PT107

Related product manuals