EasyManua.ls Logo

Reliance 2000 - 2000 Chair Final Assembly

Default Icon
20 pages
Print Icon
To Next Page IconTo Next Page
To Next Page IconTo Next Page
To Previous Page IconTo Previous Page
To Previous Page IconTo Previous Page
Loading...
IN-2000
13
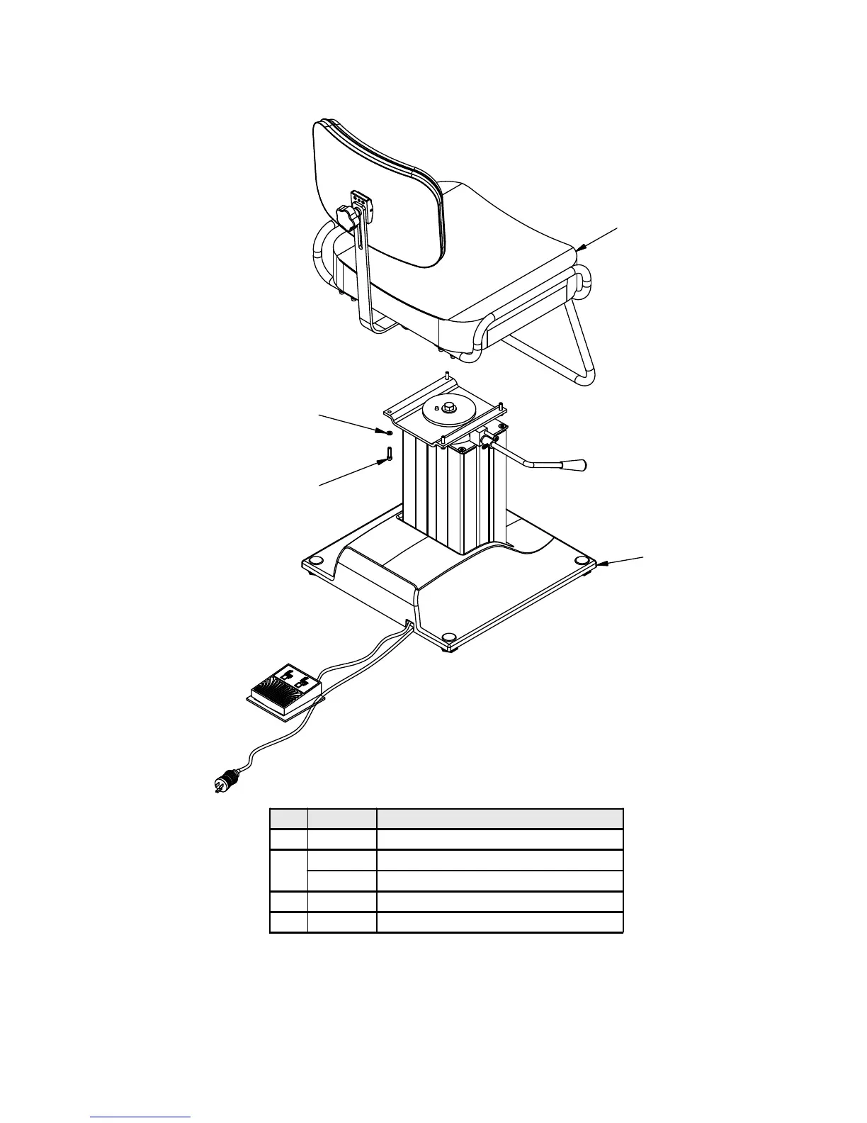
To order complete Chair Assembly use P/N’s
2782092 - 2000 Chair Final Assembly - 120V
2878392 - 2000 Chair Final Assembly - 230V (Specify Country for Power Cord)
1
2
4
3
FIGURE 3
2000 FINAL ASSEMBLY
ITEM PART NO. DESCRIPTION
1
2
CHAIR TOP ASS'Y - 2000
BASE ASSY. - 2000 - 120V
3
BASE ASSY. - 2000 - 230V
SPLIT LOCKWASHER, 1/4 REGULAR0728299
SEE FIG 4
SEE FIG 4
SEE FIG 5
4
SHCS, 1/4-20 X 10788699

Related product manuals