EasyManua.ls Logo

Ricoh FT5535 - Page 11

Ricoh FT5535
685 pages
Print Icon
To Next Page IconTo Next Page
To Next Page IconTo Next Page
To Previous Page IconTo Previous Page
To Previous Page IconTo Previous Page
Loading...
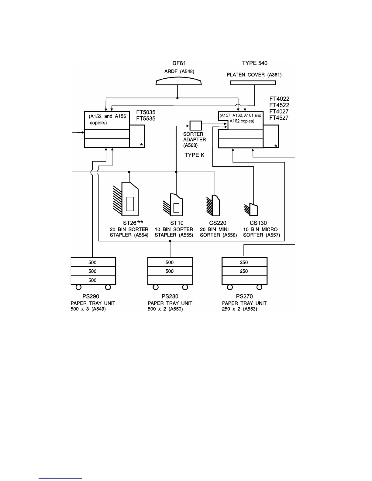
1.2 OPTIONAL EQUIPMENT
* Only available on models FT5535 and FT4527
** Not for use on FT4022/4522(A161/A163) copiers.
Rev. 7/95
FT5535/4527/4522 2-2 FSM

Related product manuals