EasyManua.ls Logo

Riello G900 - Installation of Sediment Trap & Burner Supply

Riello G900
20 pages
Print Icon
To Next Page IconTo Next Page
To Next Page IconTo Next Page
To Previous Page IconTo Previous Page
To Previous Page IconTo Previous Page
Loading...
GB
20027974
8
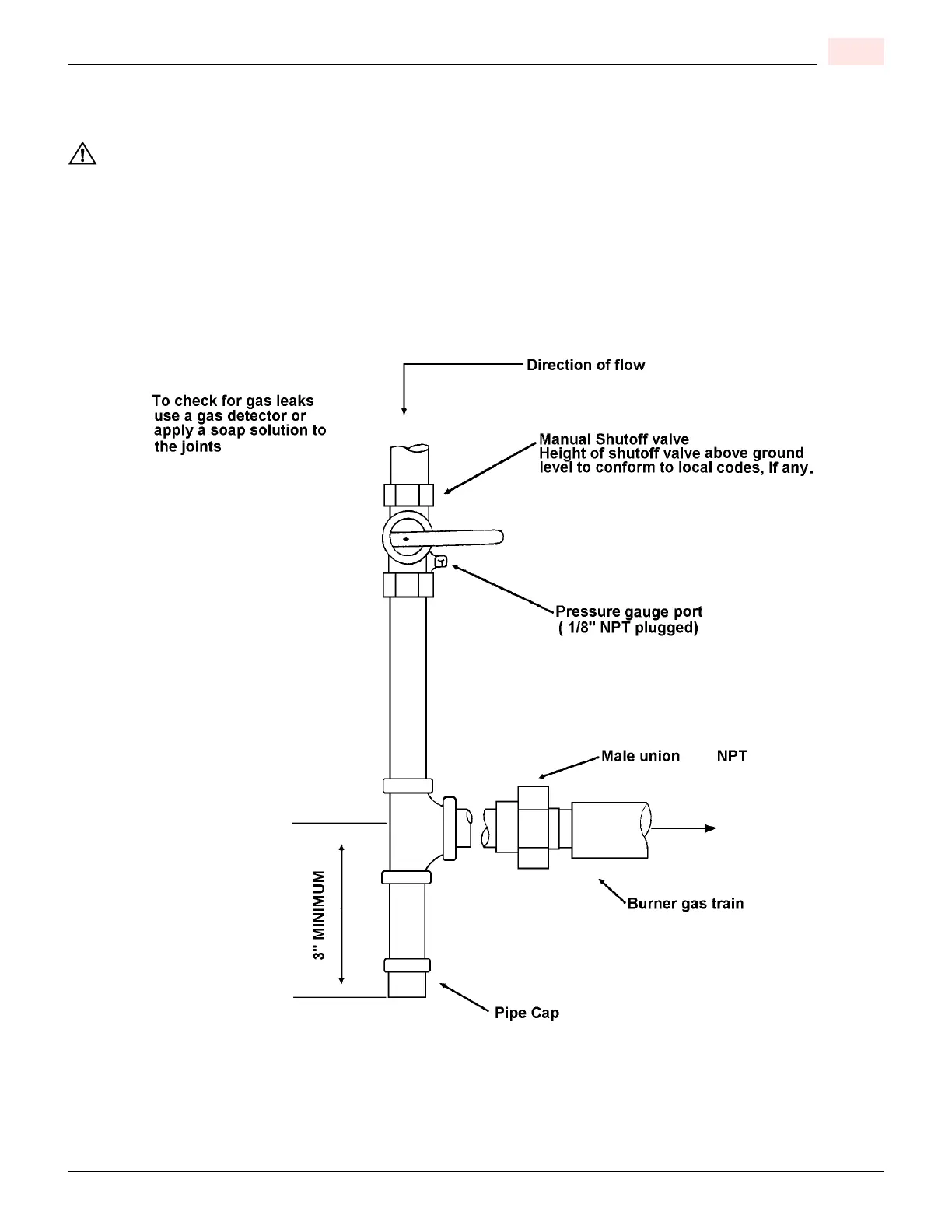
INSTALLATION OF SEDIMENT TRAP AND BURNER SUPPLY
IMPORTANT:
Gas piping should be installed according to local authorities or CAN/CGA B149.1 & .2 or UL 296.
PRESSURE TEST-OVER
1
/
2
PSIG.
The appliance and its individual shutoff valve must be disconnected from the gas supply piping system during any
pressure testing of the system at a test pressure in excess of
1
/
2
PSIG.
PRESSURE TEST-
1
/
2
PSIG OR LESS
The appliance must be isolated from the gas supply piping system by closing its individual manual shutoff valve
during any testing of the gas supply piping system at test pressures equal to or less than
1
/
2
PSIG.
1”
NOT SUPPLIED
S8141

Other manuals for Riello G900

Related product manuals