EasyManua.ls Logo

Rinstrum 300 Series - Page 10

Rinstrum 300 Series
32 pages
To Next Page IconTo Next Page
To Next Page IconTo Next Page
To Previous Page IconTo Previous Page
To Previous Page IconTo Previous Page
Loading...
Rinstrum - R300 Series Digital Indicator Quick Start Manual Rev 1.5
Page 10
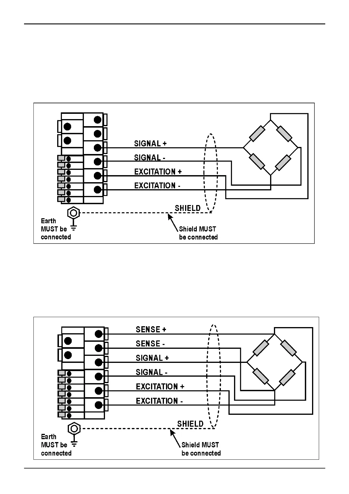
6.3.1. 4-Wire Connection
The minimum connectivity requirements are the connection of
four wires (ie. Excitation + and – along with Signal + and –).
The BUILD:CABLE option must be set to 4 to allow for 4-wire
connection.
6.3.2. 6-Wire Connection
The excitation and signal lines are connected the same as for a
4-wire installation.
The BUILD:CABLE option must be set to 6 (the default) to allow
for 6-wire connection.

Other manuals for Rinstrum 300 Series

Related product manuals