EasyManua.ls Logo

Robe ROBIN Pointe - Page 12

Robe ROBIN Pointe
48 pages
Print Icon
To Next Page IconTo Next Page
To Next Page IconTo Next Page
To Previous Page IconTo Previous Page
To Previous Page IconTo Previous Page
Loading...
12
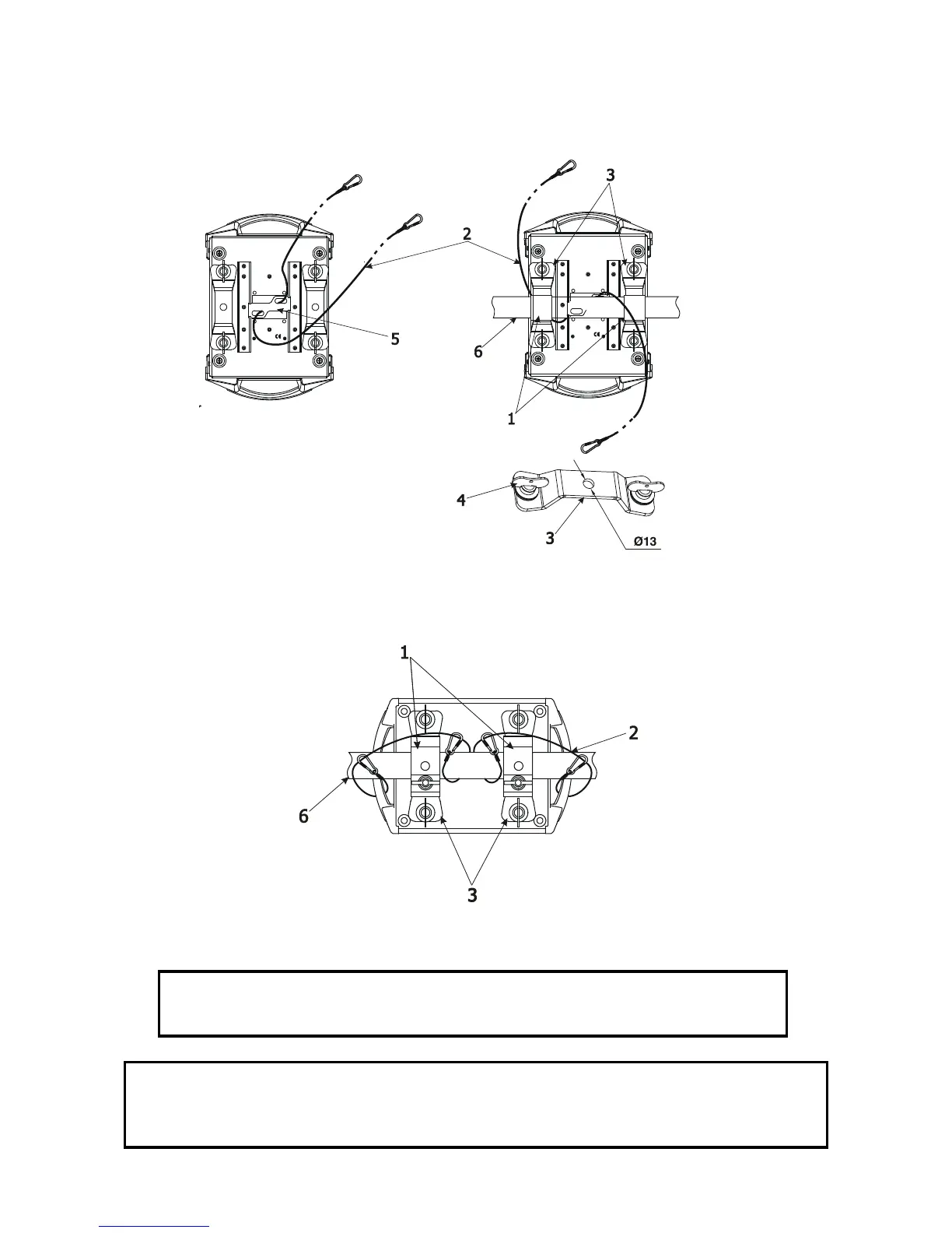
Truss installation
1.Bolt each clamp (1) to the omega holder (3) with M12 bolt and lock nut through the hole in the holder.
2.Fasten the omega holders on the bottom of the base by inserting both quick-lock fasteners (4) into the holes
of the base and tighten fully clockwise.
3. Pull the safety wire (2) through the attachment point and around the truss (6).
Alternativelly, xtures handels can be used for safety attachment
When installing xtures side-by-side,
avoid illuminating one xture with another!
DANGER TO LIFE!
Before taking into operation for the rst time,the installation has to be approved by
an expert!
1-Clamps
2-Safety wire
3-Omega holder
4-Quick-lock fastener
5-Attachment point
6-Truss

Related product manuals