EasyManua.ls Logo

Robin EY20 - Page 56

Robin EY20
71 pages
Print Icon
To Next Page IconTo Next Page
To Next Page IconTo Next Page
To Previous Page IconTo Previous Page
To Previous Page IconTo Previous Page
Loading...
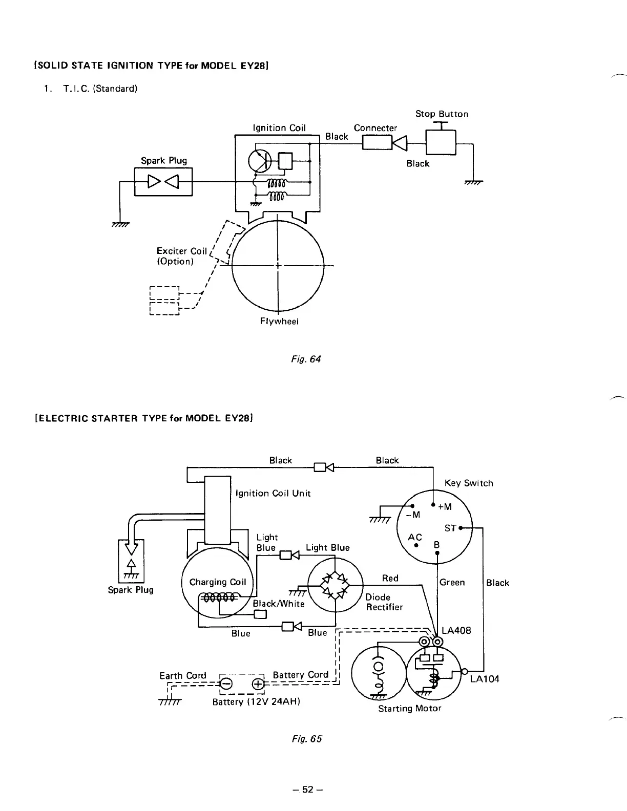
[SOLID STATE IGNITION TYPE for MODEL EY28l
1.
T.
I.
C.
(Standard)
Stop Button
Ignition Coil Connecter
l-
Spark
Plug
Black
rrm
c
Exciter Coil
(Option)
Flywheel
Fig.
64
[ELECTRIC STARTER TYPE for MODEL EY281
Key Switch
Ignition
Coil
Unit
S
Black
r-----
I""
77h
Battery
(12V
24AH)
Starting Motor
/"-
Fig.
65
-
52
-

Table of Contents

Related product manuals