EasyManua.ls Logo

Robinair 34288 - Tank Fill Level and Vacuum Pump Oil

Default Icon
18 pages
Print Icon
To Next Page IconTo Next Page
To Next Page IconTo Next Page
To Previous Page IconTo Previous Page
To Previous Page IconTo Previous Page
Loading...
6
Set Tank Fill Level
Theoperatormayeitheraccepttheunit’spre-setdefault
weightof15lbs(68kg)ofrefrigerantstoredinthe
internalstoragevessel(ISV),orchangetheamountto
accommodatetheapplication
Theunitdisplays
LEVEL:1500LBS
ENTERTANKFILLLVL
LIMIT:4TO17LBS
PRESSSTART/YESTOSAVE
1 PressSTART / YEStoacceptthedefaultamount,
orusethearrowkeystoenteradesiredamountand
pressSTART / YES.
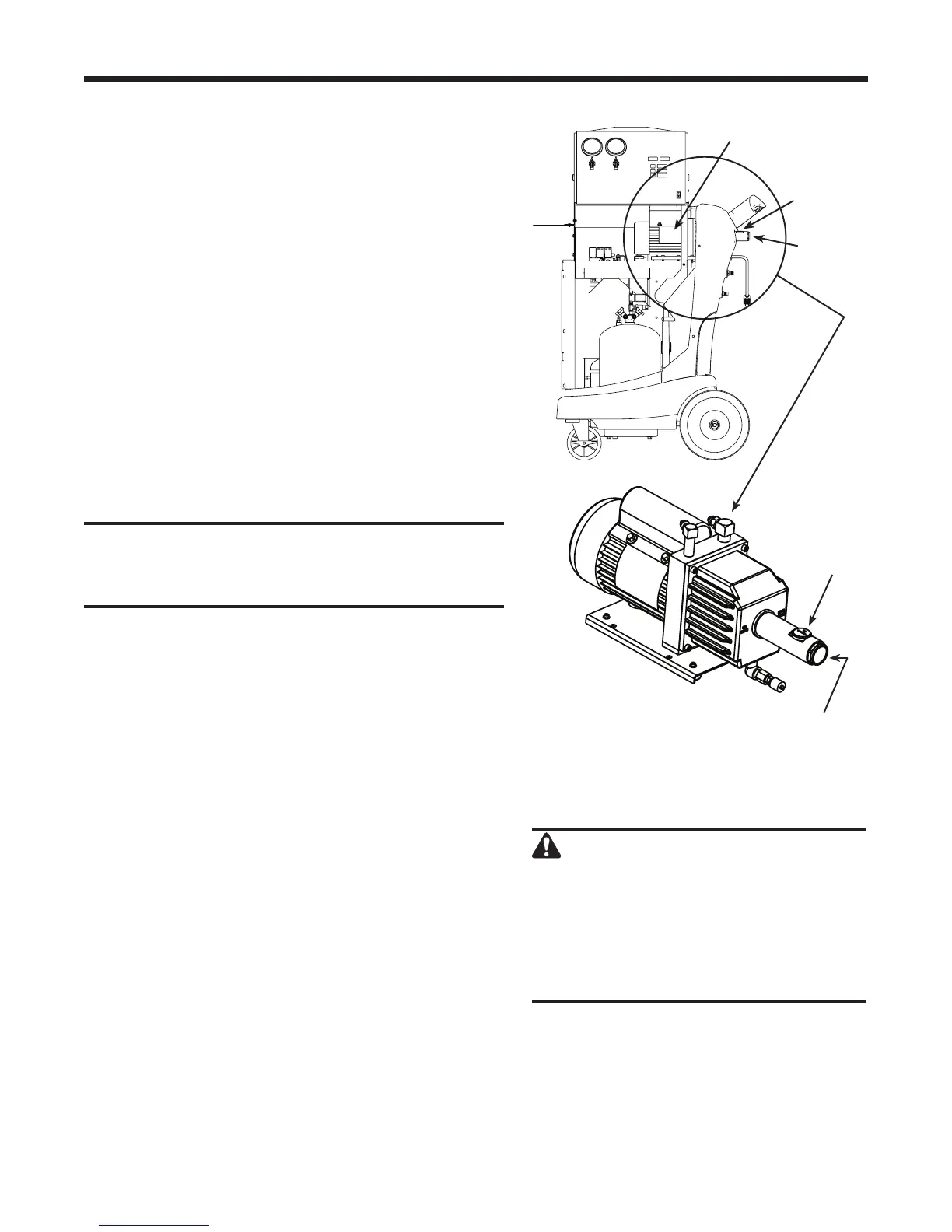
Add Oil to the Vacuum Pump
IMPORTANT: The vacuum pump is shipped
without oil in the reservoir. Failure to add oil to
the vacuum pump will damage the pump.
Theunitdisplays
ADD5OZOFNEWOIL
TOVACUUMPUMP
STARTTOCONTINUE
1 Removethebrassplugfromthevacuumpumpoil
llportSeeFigure2
2
Attachtheexibletube/captotheoilbottle;pouronly
ve(5)ouncesofvacuumpumpoilintothellport
Note: You will top off the oil in the next step as the
vacuum pump is running.
3 PressandreleasetheSTART / YESkeyWhilethe
vacuumpumpisrunning,slowlyaddoiluntilthe
levelrisestothecenterofthereservoirssightglass
4 PresstheSTOP / NOkeytostopthevacuumpump,
andinstallthebrasspluginthellport
5 PressSTART / YEStocontinue
Setup
Figure 2
CAUTION: The unit is programmed
to run the setup procedure as outlined
here. To prevent personal injury, do
NOT operate the unit at any other
time without the brass plug installed,
because the vacuum pump is
pressurized during normal operation
.
Sight Glass
Fill Port
Sight
Glass
Fill Port
Vacuum Pump

Related product manuals