EasyManua.ls Logo

Roda 810 - Slop Gate Hydraulics Breakdown

Default Icon
34 pages
Print Icon
To Next Page IconTo Next Page
To Next Page IconTo Next Page
To Previous Page IconTo Previous Page
To Previous Page IconTo Previous Page
Loading...
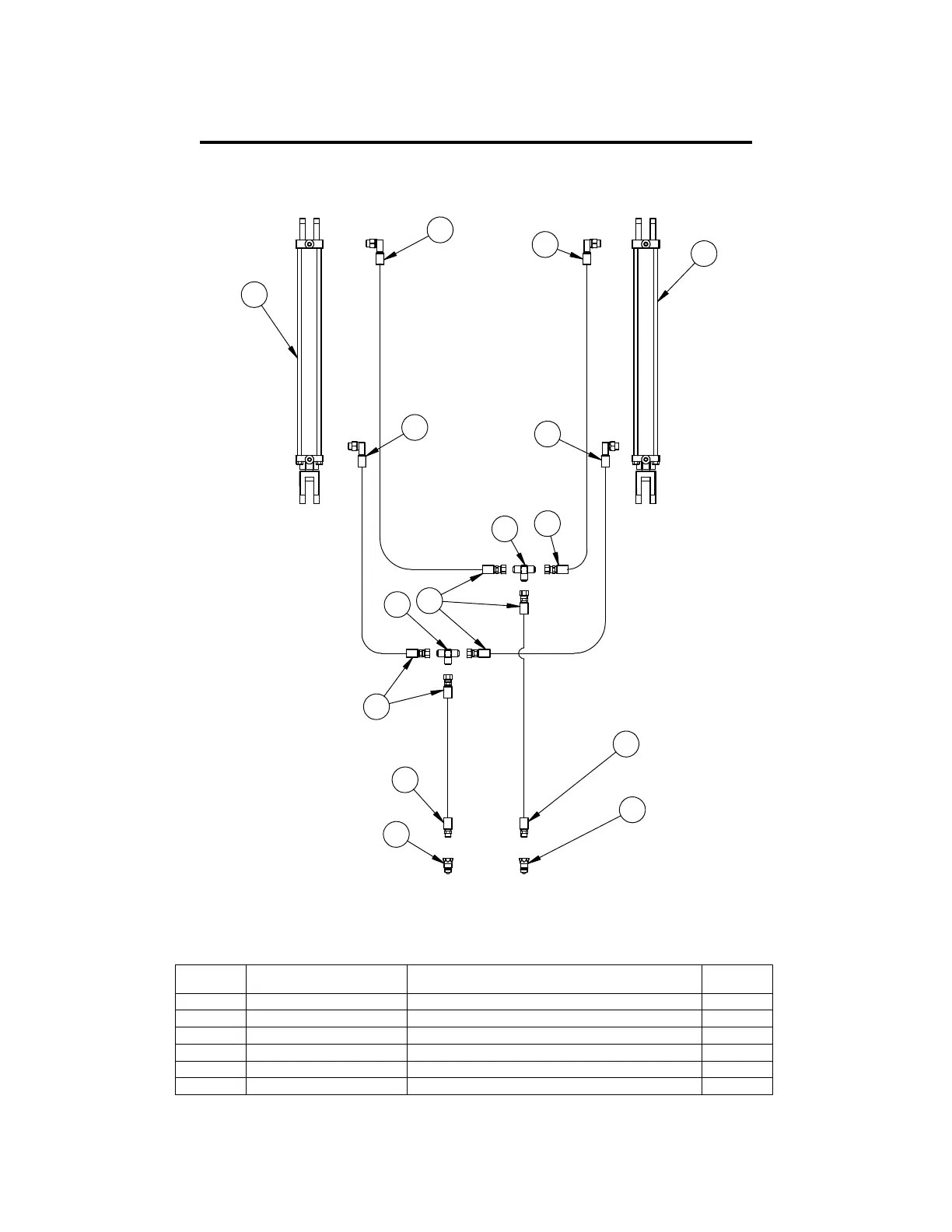
SLOP GATE HYDRAULICS BREAKDOWN
ITEM
NO.
PART NUMBER DESCRIPTION QTY.
1 8010-15 PIONEER TIP, 3/4-16, M 2
2 06U-R68 3/8" HOSE END, 3/4-16, M-"O" RING, ELB, SWVL 4
3
2603-6-6-6
TEE, 9/16-18, 2 M-FLARE 2
4
06U-606
3/8" HOSE END, 9/16-18, F-FLARE, STR, SWVL 6
5
06U-P08
3/8" HOSE END, 3/4-16, M-"O" RING, STR, RGD 2
6 B200240ABAAA07A
HYD CYLINDER, 2" BORE 24" STROKE
2
5
1
4
4
3
4
3
5
1
2
2
2
2
6
6
3/8" HOSE
31