EasyManua.ls Logo

Ryobi 3302HA - Page 146

Ryobi 3302HA
265 pages
Print Icon
To Next Page IconTo Next Page
To Next Page IconTo Next Page
To Previous Page IconTo Previous Page
To Previous Page IconTo Previous Page
Loading...
Chapter 2
(---~~Plate
Mounting and
Removing,
and
Diagonal
Image Adjustment Process
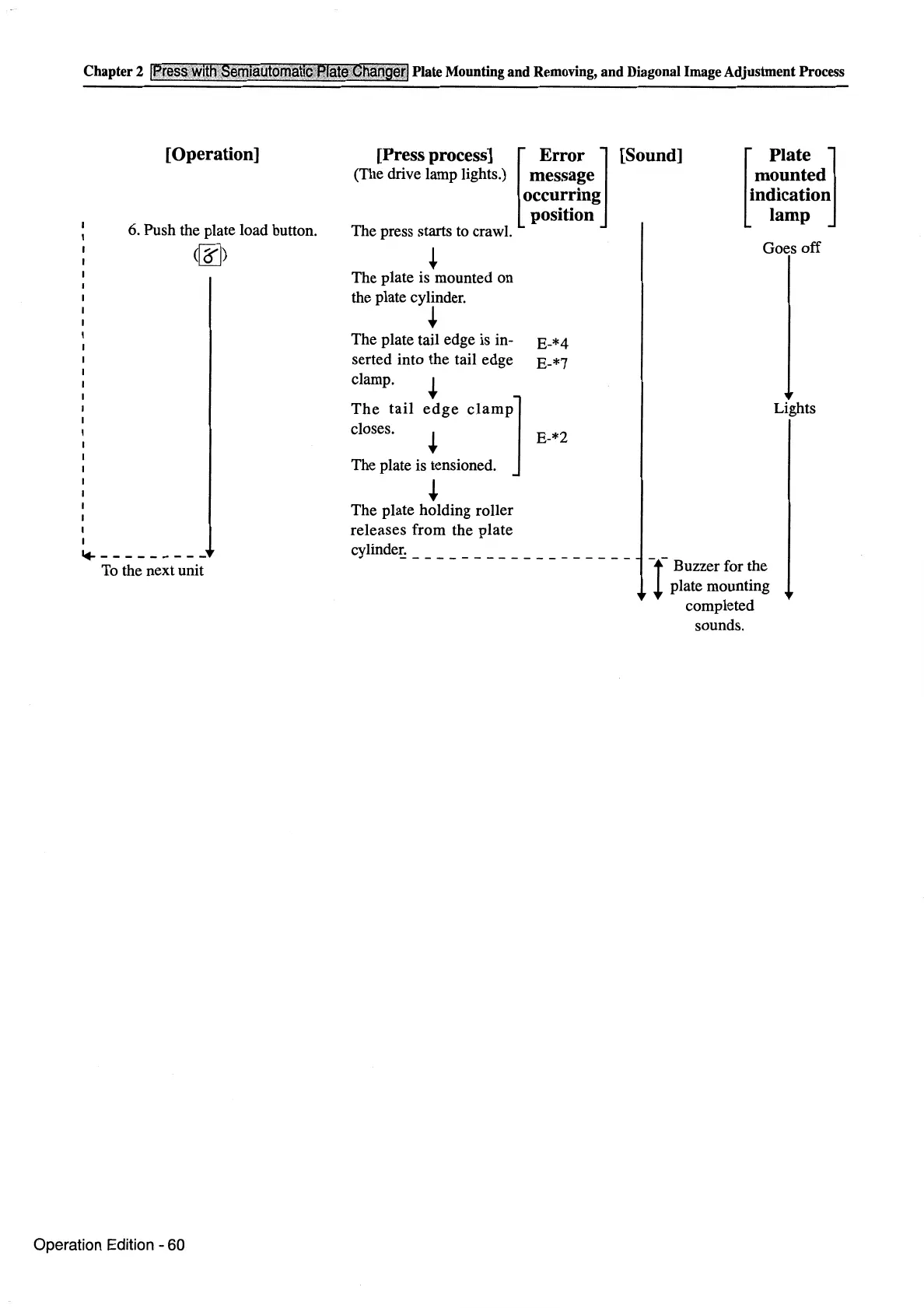
[Operation]
6.
Push the plate load button.
~)
...,
________
_
To
the next unit
Operation Edition - 60
[Press process] [
Error
]
(The drive lamp lights.) message
occu!~ing
position
The press starts
to
crawl.
+
The plate is mounted on
the plate cylinder.
+
The plate tail edge is in- E-*4
serted into the tail edge E-*7
clamp.
+
The
tail
edge
clamp]
closes. + E-*
2
The plate is tensioned.
+
The plate holding roller
releases from the plate
[Sound]
[
Plate
J
mounted
indication
lamp
Goes
off
Lights
cylinde~
_________________
_
-1-
Buzzer for the
plate mounting
completed
sounds.

Table of Contents

Related product manuals