EasyManua.ls Logo

Salto CU4000 - Page 13

Salto CU4000
21 pages
Print Icon
To Next Page IconTo Next Page
To Next Page IconTo Next Page
To Previous Page IconTo Previous Page
To Previous Page IconTo Previous Page
Loading...
All contents current at time of publication.
SALTO Systems S.L. reserves the right to change availability of any
item in this catalog, its design, construction, and/or materials.
©
2022 SALTO Systems S.L.
224901-ED.4- 26/06/2023
Installation guide
CU4000 Door Controller
Werkskonfiguration
Fabrieksinstellingen
IN1
IN2
IN3
IN4
IN5
IN6
RL1
RL2
RL3
RL4
Deurstatus voor DEUR1
Req EXIT input voor DEUR1
Deurstatus voor DEUR2
Req EXIT input voor DEUR2
Loopstand voor DEUR1
Loopstand voor DEUR2
Uitgangrelais voor DEUR1
Sabotage alarm, Deur open laten staan, inbraak Deur1
Uitgangrelais voor DEUR2
Sabotage alarm, Deur open laten staan, inbraak Deur2
onbewaakt NC
onbewaakt NO
onbewaakt NC
onbewaakt NO
onbewaakt NO
onbewaakt NO
IN1
IN2
IN3
IN4
IN5
IN6
RL1
RL2
RL3
RL4
DÖRRLÄGE för DOOR1
Uttrycksknapp för DOOR1
DÖRRLÄGE för DOOR2
Uttrycksknapp för DOOR2
KONTORSLÄGE för DOOR1
KONTORSLÄGE för DOOR2
Låsrelä för DOOR1
Sabotagelarm, Dörr lämnad öppen, Intrångsalarm DÖRR 1
Låsrelä för DOOR2
Sabotagelarm, Dörr lämnad öppen, Intrångsalarm DÖRR 2
Ej övervakad NC
Ej övervakad NO
Ej övervakad NC
Ej övervakad NO
Ej övervakad NO
Ej övervakad NO
IN1
IN2
IN3
IN4
IN5
IN6
RL1
RL2
RL3
RL4
Türkontakt Tür 1
Türöffnungstaster Tür 1
Türkontakt Tür 2
Türöffnungstaster Tür 2
Eingang für Office‐Mode r 1
Eingang für Office‐Mode r 2
Ausgangsrelais Tür 1
Sabotagealaram, Tür zu lange offen und Einbruch Tür 1
Ausgangsrelais Tür 2
Sabotagealaram, Tür zu lange offen und Einbruch Tür 2
unüberwachter NC
unüberwachter NO
unüberwachter NC
unüberwachter NO
unüberwachter NO
unüberwachter NO
Fabriksinställning
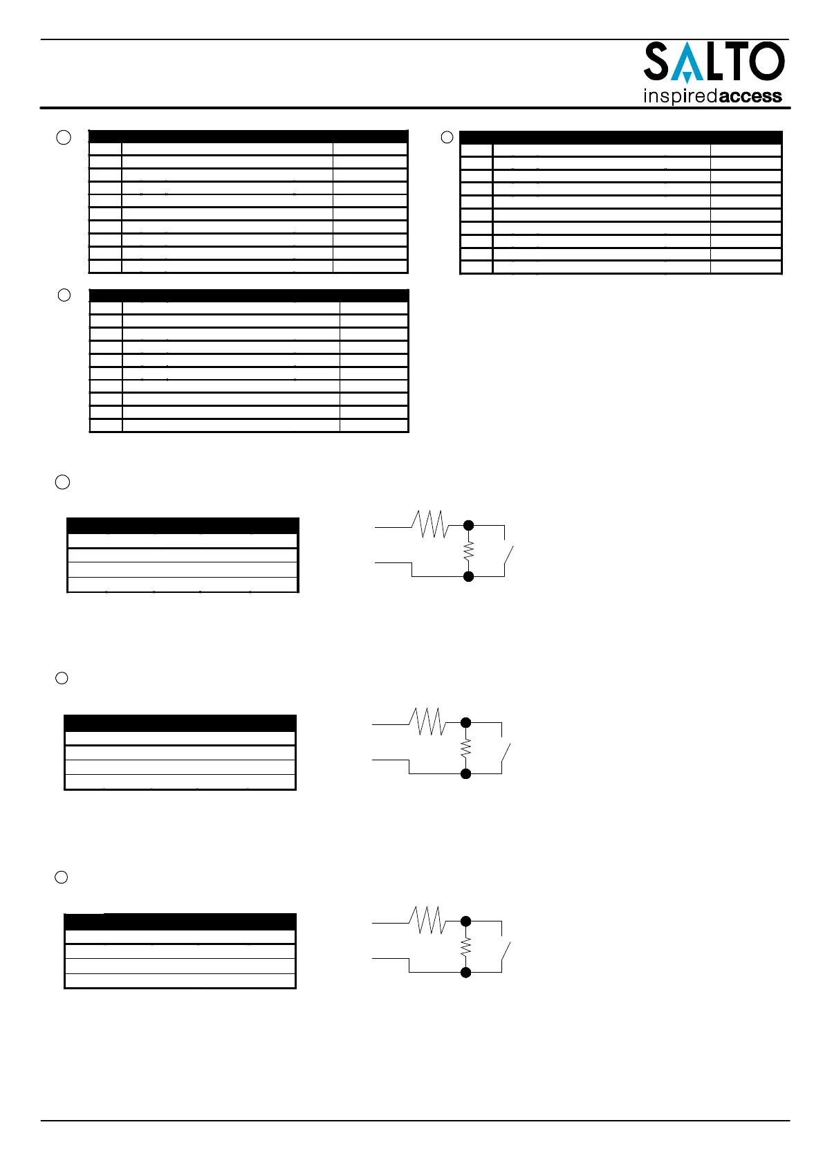
EINGANG Konfiguration
Überwachter Eingang
CUADAP oder Fremdleser
IN3
IN4
IN5
IN6
D0 Ausgang
D1 Ausgang
D0 Ausgang
D1 Ausgang
Clock Ausgang
Data Ausgang
Clock Ausgang
Data Ausgang
TX Ausgang
TX Ausgang
Wiegand Omron RS232
Die Widerständswert können via Software
definiert werden: 1k5, 2k2, 3k3, 4k7, 6k8, 10k
Ingangen
Ingangen onder toezicht
CUADAP en lezers van derden
IN3
IN4
IN5
IN6
D0 uitgang
D1 uitgang
D0 uitgang
D1 uitgang
Clock uitgang
Data uitgang
Clock uitgang
Data uitgang
TX uitgang
TX uitgang
Wiegand Omron RS232
De weerstandswaardes R1 en R2 zijn in te
stellen in de software: 1k (aanbevolen), 1k5,
2k2, 3k3, 4k7, 6k8 of 10k
Ingång
Övervakad ingång
CUADAP eller 3e partsläsare
IN3
IN4
IN5
IN6
D0 utgång
D1 utgång
D0 utgång
D1 utgång
Clock utgång
Data utgång
Clock utgång
Data utgång
TX utgång
TX utgång
Wiegand Omron RS232
Motståndsvärdet R1 och R2 anges i
mjukvaran:1k (rekommenderas), 1k5, 2k2,
3k3, 4k7 6k8, 10k
R2
R1
R1=R2
R2
R1
R1=R2
R2
R1
R1=R2
NL
D
SVE
D
NL
SVE
13/20

Related product manuals