EasyManua.ls Logo

Samoa PM45 - Instalación; Modo de Empleo

Samoa PM45
52 pages
Print Icon
To Next Page IconTo Next Page
To Next Page IconTo Next Page
To Previous Page IconTo Previous Page
To Previous Page IconTo Previous Page
Loading...
11
R. 03/23 853 801
SAMOA Industrial, S.A. · Pol. Ind. Porceyo, I-14 · Camino del Fontán, 831 · 33392 - Gijón - Spain · Tel.: +34 985 381 488 · www.samoaindustrial.com
2023_03_01-11:00
ES
DESCRIPCIÓN
Bomba de pistón alternativo accionada por aire comprimido.
Permite bombear grandes caudales de todo tipo de aceites minerales.
Aplicable en instalaciones con conducciones de gran longitud para dar
servicio simultáneamente a varias salidas de fluido. La bomba puede ser
montada en la pared (con soporte mural 360132), o directamente sobre
bidón o cisterna utilizando tubo prolongador de longitud adecuada.
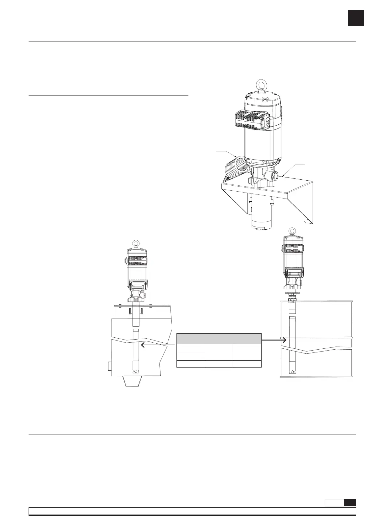
INSTALACIÓN
Pueden ser instaladas directamente sobre bidón o cisterna, aunque se
recomienda su instalación sobre soporte mural (Ref. 360132) debido a su
peso y a las vibraciones generadas durante su funcionamiento.
Diferentes formas de montaje:
a. Montaje mural, usando soporte (360132). Fije el soporte mural a la
pared firmemente. Inserte la bomba por el soporte y fíjela con los
tornillos suministrados (Fig. 1).
b. Montaje directo sobre bidón o cisterna (ver Fig. 2). Rosque a la
bomba el tubo prolongador correspondiente (ver Fig. 2). Inserte el
tubo por el interior de la tapa del bidón/cisterna. Atornille la bomba
a la tapa con tornillos M10 (4 agujeros en un patrón de centros de
diámetro 112 mm).
c. Montaje ajustable sobre bidón o cisterna con adaptador. Rosque a la
bomba el tubo prolongador correspondiente (ver Fig. 3). Rosque la
tuerca del adaptador ajustable a la tapa del bidón/cisterna. Inserte el
tubo por la tuerca y fíjelo con la estrella a la altura deseada.
En aquellos casos en los que sea requerido cumplir condiciones ATEX,
asegúrese de conectar a tierra la bomba con el cable de tierra dotado de
pinza (534907).
Fig. 3
Fig. 2
TUBO PROLONGADOR
BOMBA BIDÓN CISTERNA
536030 539012 368112
536031 539011 539041
Estas bombas están preparadas
para montaje directo en bidón
de 200 litros, fijándola
directamente a la tapa de bidón
con 4 tornillos M10.
B
A
Fig. 1
MODO DE EMPLEO
Esta bomba es auto-cebante. Para cebarla la primera vez, es conveniente conectar el aire a la bomba incrementando la presión lentamente desde 0 bar a
la presión deseada con el regulador de presión.
La bomba empieza a bombear cuando se abre la válvula de salida, por ejemplo una pistola de control de aceite.
360132
534907

Related product manuals