EasyManua.ls Logo

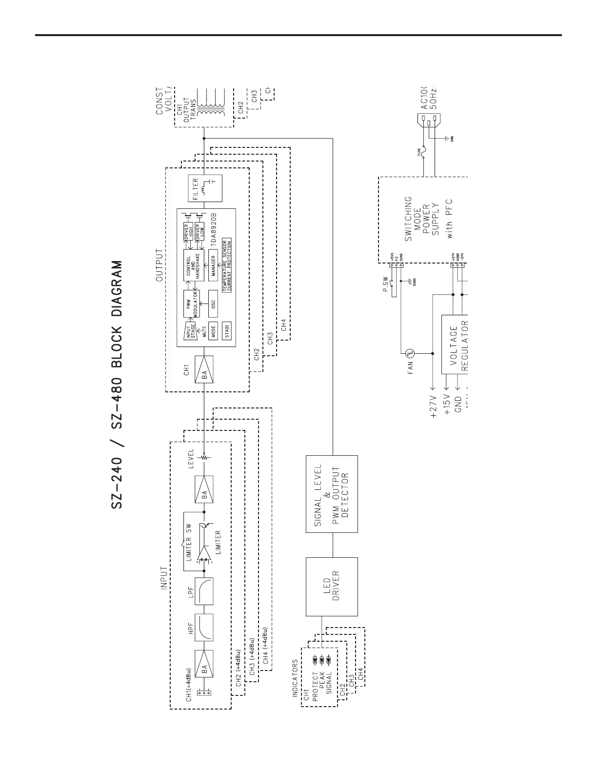
Samson SZ240 - Block Diagram

Samson SZ240
24 pages
Print Icon
To Next Page IconTo Next Page
To Next Page IconTo Next Page
To Previous Page IconTo Previous Page
To Previous Page IconTo Previous Page
Loading...
18
Block Diagram

Related product manuals