EasyManua.ls Logo

Samson ZM75 - ZM Series Output Wiring Guide

Samson ZM75
20 pages
Print Icon
To Next Page IconTo Next Page
To Next Page IconTo Next Page
To Previous Page IconTo Previous Page
To Previous Page IconTo Previous Page
Loading...
13
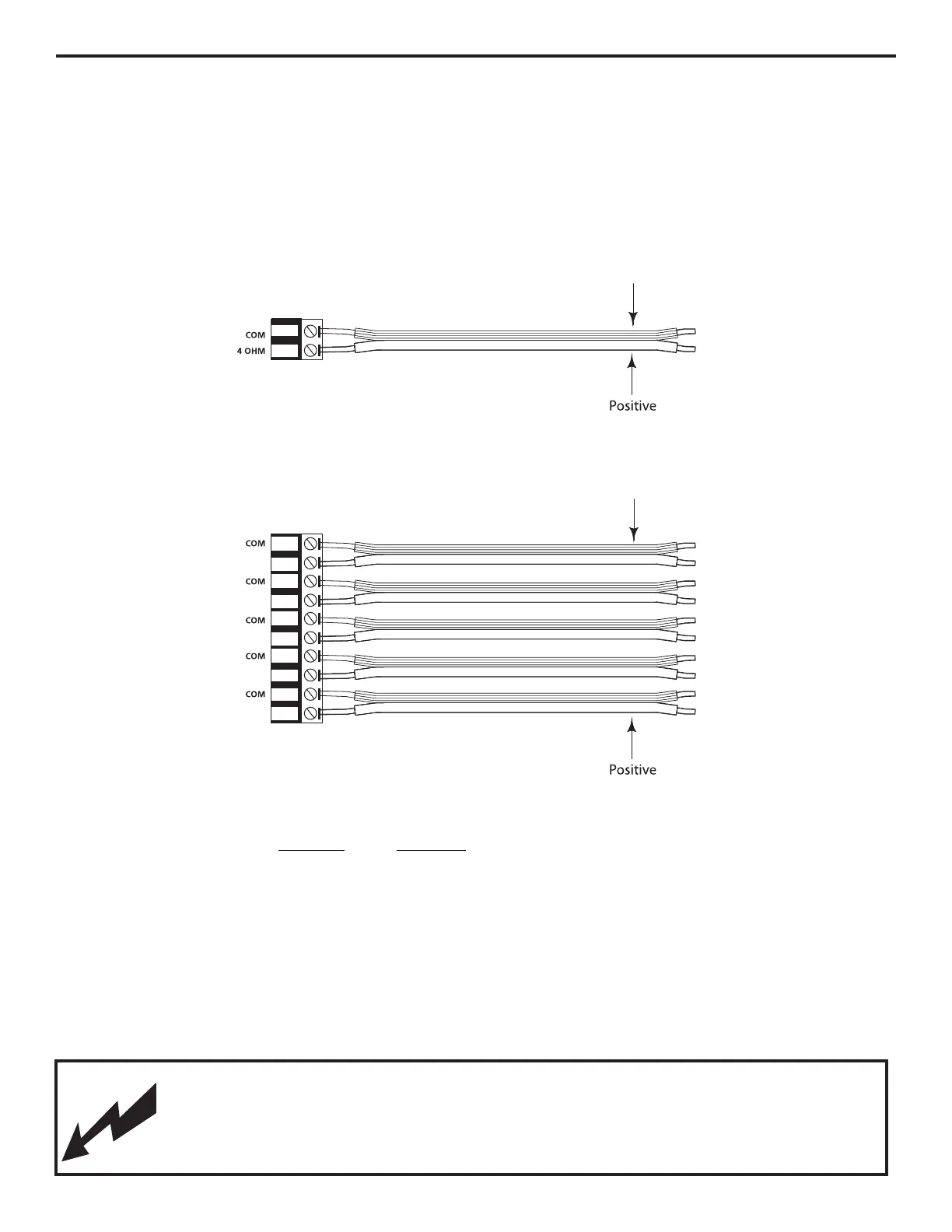
ZM Series Output Wiring Guide
Negative
Negative
ZM Series Output Wiring Guide
There are several ways to interface the ZM Series amplifers, depending on your exact system set-up. For most small
to medium installations, 14 to 16 gauge zip cord can be used. Follow the cable diagrams below for connecting to the
input of your amplifier.
4 Ohm Wiring Guide
Constant Voltage Wiring Guide
SHOCK HAZARD SYMBOL
WARNING!!! - PAY ATTENTION TO THE WARNING SYMBOL AND AVOID ELECTRICAL SHOCK.
DO NOT HOLD OR TOUCH THE COMMON AND 70 OR 100 VOLT WIRE CONNECTION WHILE
OPERATING THE AMPLIFIER.
Follow the guidelines below to select the appropriate size wire based on the distance from the amplifier to the
speaker. The wire sizes apply to the 4-ohm tap.
Distance Wire Size
Up to 25 ft. 16 AWG
26~40 ft. 14 AWG
41~60 ft. 12AWG
61~100 ft. 10AWG
101ft~150 ft. 8AWG
151~200 ft. 6AWG
NOTE : Custom wiring should only be performed by licensed and insured, qualified personnel. Class 2 wiring is
required.
CAUTION : Never use shielded cable for output power wiring.

Other manuals for Samson ZM75

Related product manuals