EasyManua.ls Logo

Samsung AQV12VBEX - Control Assembly Parts List

Samsung AQV12VBEX
96 pages
Print Icon
To Next Page IconTo Next Page
To Next Page IconTo Next Page
To Previous Page IconTo Previous Page
To Previous Page IconTo Previous Page
Loading...
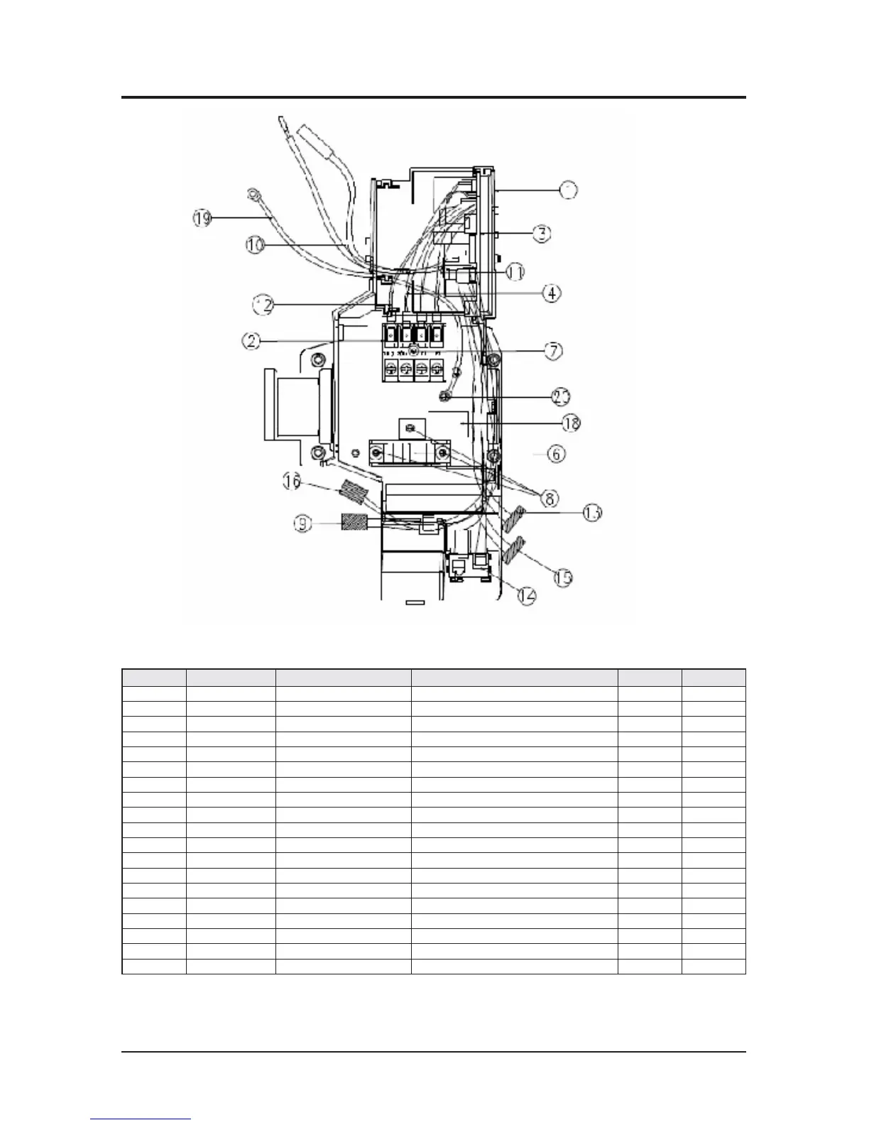
4BNTVOH&MFDUSPOJDT 
"TThZ$POUSPM*O#$
Q1BSUT-JTU
&YQMPEFE7JFXTBOE1BSUT-JTU
/P $PEF/P %FTDSJQUJPO 4QFDJGJDBUJPO 25: 4"4/"
%## $"4&$0/530-*/ 7*7"$&(3":7 4"
%#6 5&3.*/"-#-0$, 1 4/"
%#, "44:1$#*/."*/ 7*7"$&64" 4"
%#" 1-"5&$0/530-*/ 1-"5&$0/530-*/ 4"
%#" )0-%&38*3&$-".1 )0-%&38*3&$-".1 4/"
 4$3&8 .- 4/"
 4$3&8 .- 4/"
%#" "44:.0%6-&1$# 7*7"$& 4/"
%#" %*41-":8*3& %*41-": 4/"
 %#" $0//&$58*3& "650(3*-- 4/"
 %#" $0//&$58*3& .1*$0//&$5038*3& 4/"
 %#" $0//&$58*3& 45&1.0503 4/"
 %#" 4&/403 4&/403 4"
 %#5 $0//&$58*3& "8(4,:#-6 4/"
 %#" $0//&$58*3& 1 4/"
 %## $0//&$58*3& $0. 4/"
 %#" $0//&$58*3& &"35) 4/"
  4$3&8 .- 4/"
 %#" -"#&-$"65*0/ "4"3$5&530/ 4/"

Table of Contents

Related product manuals