EasyManua.ls Logo

Samsung HT-BD2S - Page 23

Samsung HT-BD2S
73 pages
Print Icon
To Next Page IconTo Next Page
To Next Page IconTo Next Page
To Previous Page IconTo Previous Page
To Previous Page IconTo Previous Page
Loading...
22
connections
If you place a speaker near your TV set, screen color may be distorted because of the
magnetic field generated by the speaker. If this occurs, place the speaker away from your
TV set.
M
Do not let children play with or near the speakers. They could get hurt if a speaker falls.
When connecting the speaker wires to the speakers, make sure that the polarity (+/–) is
correct.
Keep the subwoofer speaker out of reach of children so as to prevent children from
inserting their hands or alien substances into the duct (hole) of the subwoofer speaker.
Do not hang the subwoofer on the wall through the duct (hole).
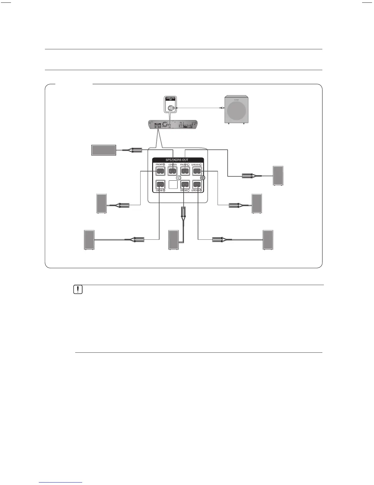
CONNECTING THE SPEAKERS (CON'T)
FM
Front
Speaker (R)
Center Speaker
Subwoofer
Speaker
Front
Speaker (L)
Surround-Back
Speaker (L)
Surround-Back
Speakaer (R)
Surround
Speaker (R)
Surround Speaker (L)
Audio cable
HT-BD2S
HT-BD2_XAA_0210.indd 22 2008-02-11 �� 11:27:21

Table of Contents

Related product manuals