EasyManua.ls Logo

Samsung MH068FXEA4 - Fault Diagnosis by Symptom - Basic Check Flow

Samsung MH068FXEA4
208 pages
Print Icon
To Next Page IconTo Next Page
To Next Page IconTo Next Page
To Previous Page IconTo Previous Page
To Previous Page IconTo Previous Page
Loading...
12-5Samsung Electronics 12-5
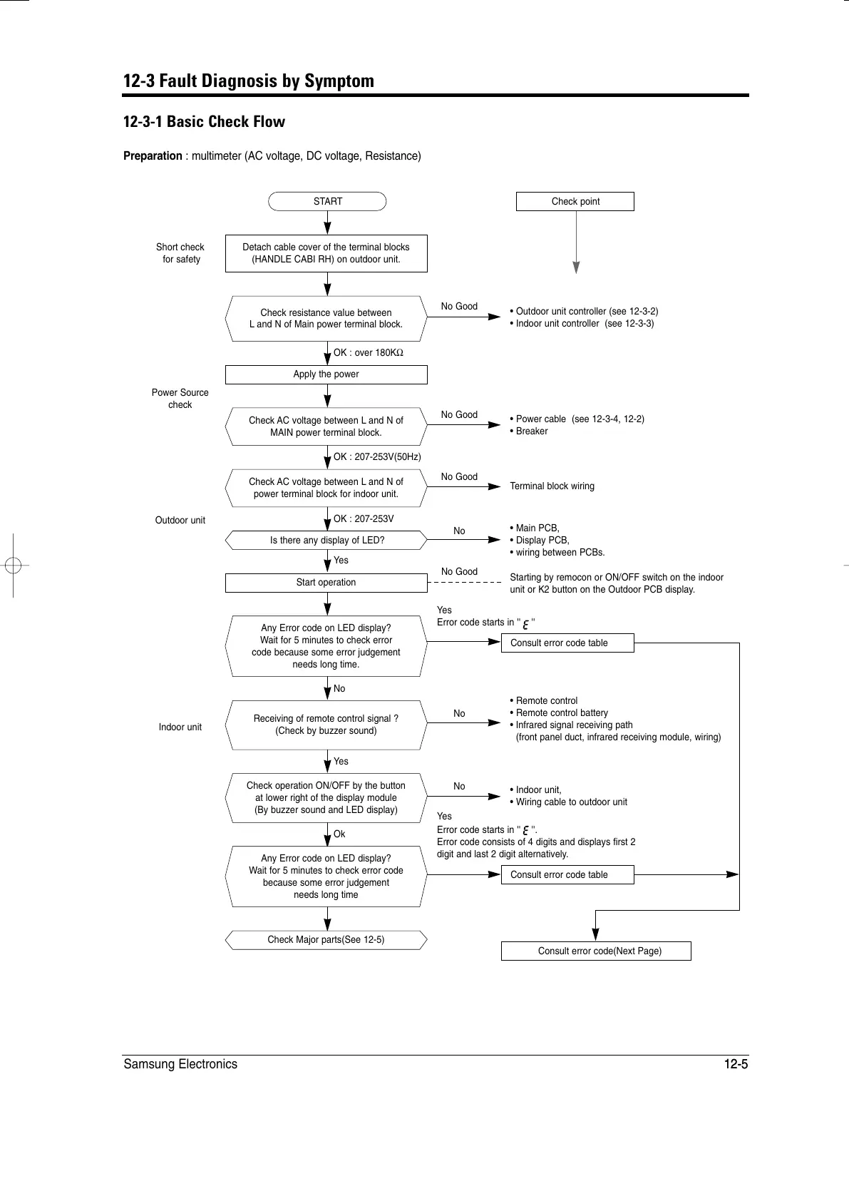
Yes
Error code starts in '' ''
Consult error code table
Yes
Error code starts in '' ''.
Error code consists of 4 digits and displays first 2
digit and last 2 digit alternatively.
Consult error code table
Consult error code(Next Page)
OK : over 180K
No Good
OK : 207-253V(50Hz)
OK : 207-253V
Yes
No
Yes
Ok
12-3 Fault Diagnosis by Symptom
12-3-1 Basic Check Flow
Preparation : multimeter (AC voltage, DC voltage, Resistance)
Detach cable cover of the terminal blocks
(HANDLE CABI RH) on outdoor unit.
Check resistance value between
L and N of Main power terminal block.
Outdoor unit controller (see 12-3-2)
Indoor unit controller (see 12-3-3)
No Good
Power cable (see 12-3-4, 12-2)
Breaker
No Good
No
Terminal block wiring
No
Main PCB,
Display PCB,
wiring between PCBs.
Remote control
Remote control battery
Infrared signal receiving path
(front panel duct, infrared receiving module, wiring)
No
Indoor unit,
Wiring cable to outdoor unit
No Good
Starting by remocon or ON/OFF switch on the indoor
unit or K2 button on the Outdoor PCB display.
Apply the power
Check AC voltage between L and N of
MAIN power terminal block.
Check AC voltage between L and N of
power terminal block for indoor unit.
Is there any display of LED?
Start operation
Any Error code on LED display?
Wait for 5 minutes to check error
code because some error judgement
needs long time.
Receiving of remote control signal ?
(Check by buzzer sound)
Check operation ON/OFF by the button
at lower right of the display module
(By buzzer sound and LED display)
Any Error code on LED display?
Wait for 5 minutes to check error code
because some error judgement
needs long time
Check Major parts(See 12-5)
START
Check point
Short check
for safety
Power Source
check
Outdoor unit
Indoor unit
24296A(1)_2 11/11/05 5:07 PM Page 12-5