EasyManua.ls Logo

Sansui B-3000 - Other Parts

Sansui B-3000
14 pages
Print Icon
To Next Page IconTo Next Page
To Next Page IconTo Next Page
To Previous Page IconTo Previous Page
To Previous Page IconTo Previous Page
Loading...
zecleleleym
rele]
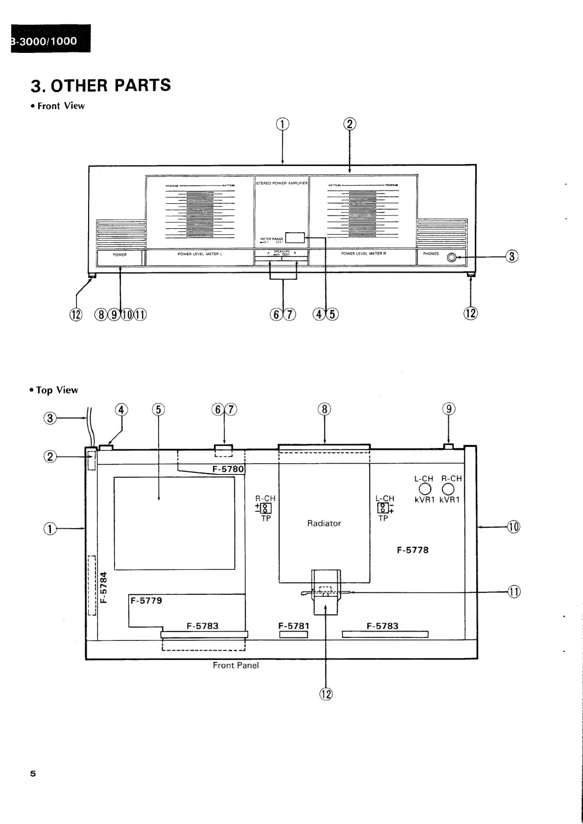
3.
OTHER
PARTS
e
Front
View
STEREO
POWER
AMPLIFIER,
POWER
LEVEL
METER
L
*
Top
View
Radiator
Front
Panel

Related product manuals