EasyManua.ls Logo

Sanus VisionMount VMDD26 - Do Not Overtighten the Nut

Sanus VisionMount VMDD26
8 pages
Print Icon
To Next Page IconTo Next Page
To Next Page IconTo Next Page
To Previous Page IconTo Previous Page
To Previous Page IconTo Previous Page
Loading...
4
6901-100015 <01>
2
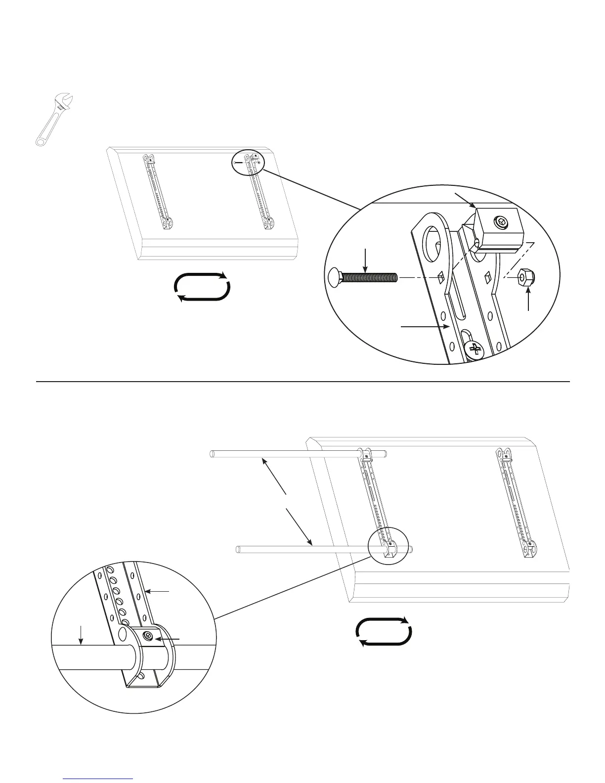
Do not overtighten the Nut [14]. The Vise Assembly [06] should rotate freely around the Carriage Bolt [13].
[04]
[06]
[13]
[05]
[06]
[05]
[04]
3
4x
2x
[14]

Related product manuals