EasyManua.ls Logo

Sanus VisionMount VMDD26 - Set the Tilt Tension with the Knobs

Sanus VisionMount VMDD26
8 pages
Print Icon
To Next Page IconTo Next Page
To Next Page IconTo Next Page
To Previous Page IconTo Previous Page
To Previous Page IconTo Previous Page
Loading...
7
6901-100015 <01>
9
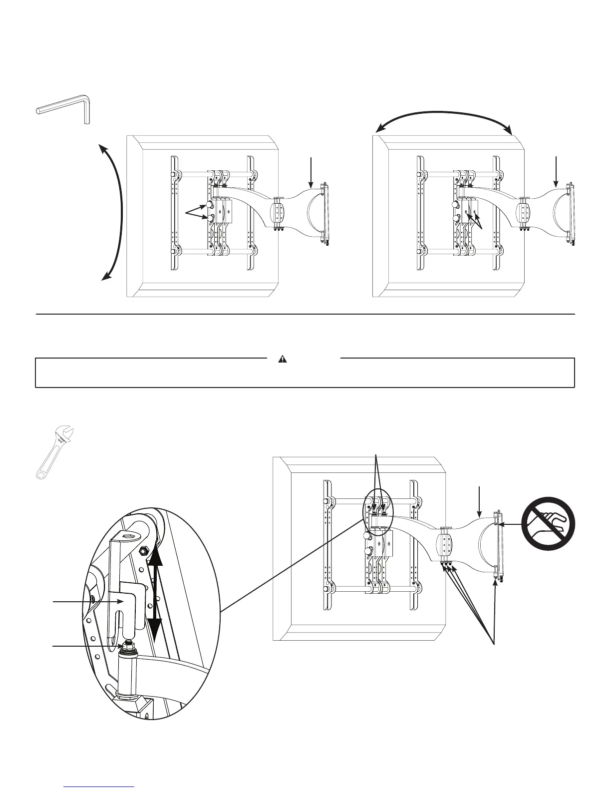
CAUTION
To prevent property damage, do not remove the Tension Nuts [T] or fail to reinstall the Safety Bracket [S].
To adjust tension on the Arm Assembly [02], loosen or tighten the Tension Nuts [T]. For the Tension Nuts closest to the TV, remove
the Safety Bracket [S], adjust the tension, and reinstall the Safety Bracket.
8
Set the tilt tension with the Knobs [K] on the Arm Assembly [02]. The TV freely tilts +5° to -15° without further Knob adjustment.
To change the roll ± 6°, loosen the Allen Bolts [B] on the Arm Assembly, position the TV, and retighten the Allen Bolts.
K
B
[02]
[02]
[T]
[T]
[T]
[S]
[02]

Related product manuals