EasyManua.ls Logo

Sanyo EM800TS - Circuit Diagram; Wiring Color Codes

Sanyo EM800TS
11 pages
Print Icon
To Next Page IconTo Next Page
To Next Page IconTo Next Page
To Previous Page IconTo Previous Page
To Previous Page IconTo Previous Page
Loading...
iii
- TABLE OF CONTENTS
Circuit Diagram ., ., . . . . . . . . . . . . . . . . . . . . ...1
Exploded View and Parts List..,,, , .,,..,,,. 3-7
Test Procedures . . . . . . . . . . . . . . . . . . . . . . . . ...2
Overall Circuit Diagram . . . . . . . . . . . . . . . . . . . ...8
(Control Circuit Board and Touch Key Board)
I
,,, .
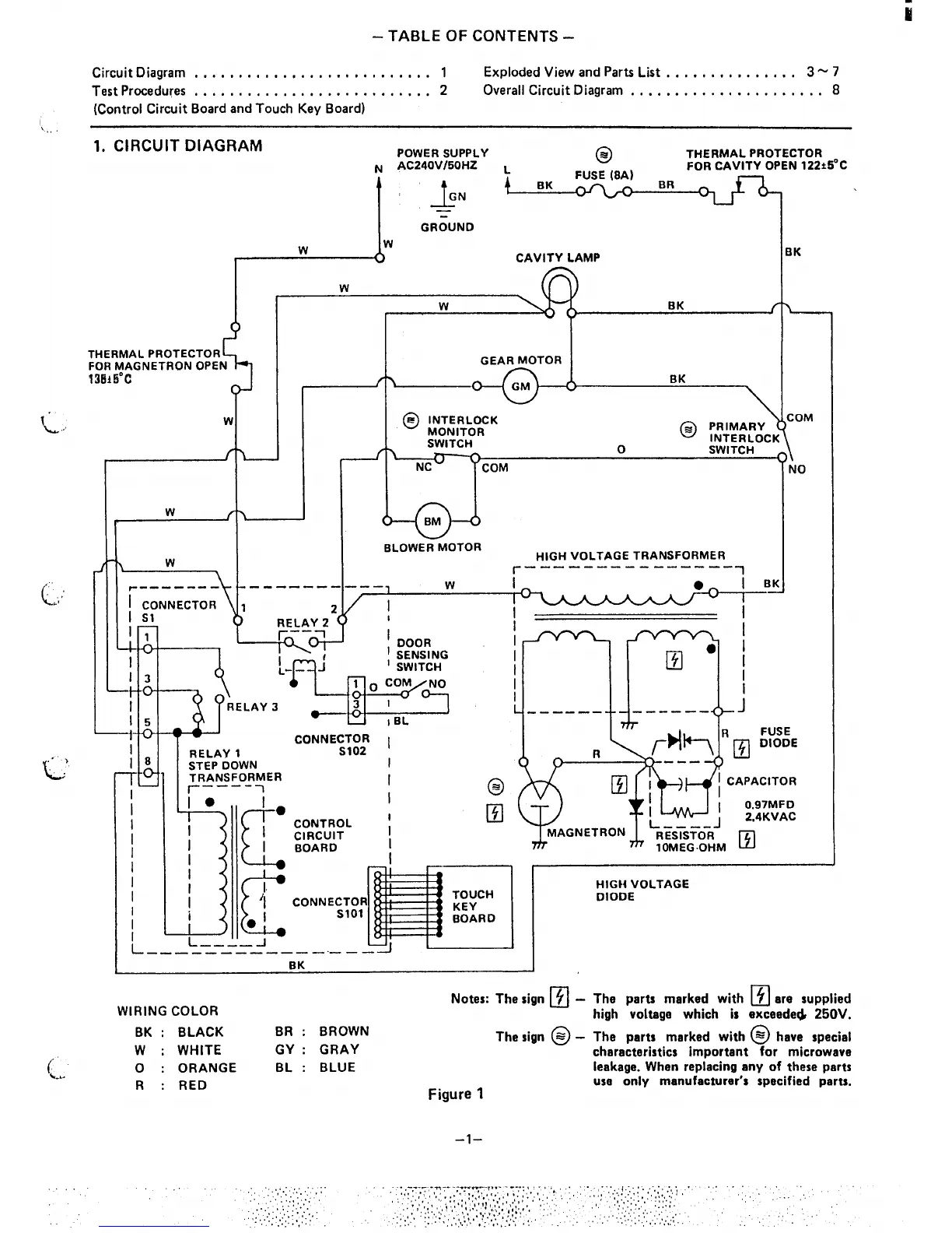
1. CIRCUIT DIAGRAM
POWER SUPPLY
(a THERMAL PROTECTOR
N AC240V150HZ L
1’-4
FOR CAVITY OPEN 122i5°C
1
BK
GN
n
GROUND
~
CAVITY LAMP
IK
i
:OM
\
NO
i
w
w
BK
I
THERMAL PROTECTOR
FOR MAGNETRON OPEN
13B45°C
L
I La-l
w
F
f
BLOWER MOTOR
HIGH VOLTAGE TRANSFORMER
r
—--- ---— ---- .— -
1
b
w
F--------
I CONNECTOR
I
S1
.R7
11
I
13
(’,,,
I
I Bl(
I
I
I
----- -
I
I
I
I
I
L
II I
–W-@
R
I
@
MAGNETRON
-
b-l
“h
CONNE~;:: [
/8
RELAY 1
STEP DOWN
I
TRANSFORMER
r
-——-
1
I
1010
I
1
L
I
CONTROL
I
CIRCUIT
I
BOARD
i,
I
P
-,
I
;
CONNECTOR
I
I
,—
I
I
I
1!
I
I
I
El
I
I
I
I
I
H
TOUCH
KEY
BOARO
~.
——. ——
.—l L——————
J
HIGH VOLTAGE
DIODE
I / -/Il}ai
L–___-I
———— ————
Slol
I
I
L_
I
BK
WIRING COLOR
•1
Notes: The sign ~ -
•1
The parts marked with $ are supplied
high voltage which is exceaded 250V.
BK :
BLACK
BR : BROWN
The sign @ - The parts markad with @ have special
w : WHITE
GY :
GRAY
characteristics important for microwave
o : ORANGE
BL :
BLUE
leakage. When raplacing any of thesa parts
R : RED
usa only manufacturer’s specified parts.
(“
k..
Figure 1
–l-
.,. ,

Related product manuals