EasyManua.ls Logo

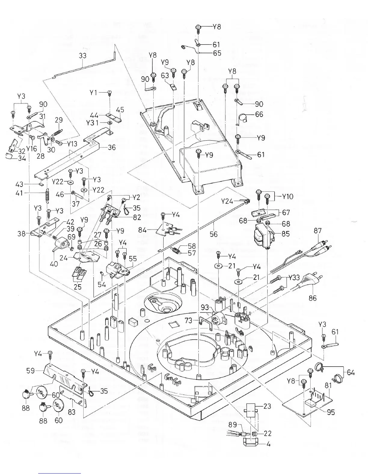
Sanyo TP 1024 - Main Chassis and Base Components

Sanyo TP 1024
9 pages
Print Icon
To Next Page IconTo Next Page
To Next Page IconTo Next Page
To Previous Page IconTo Previous Page
To Previous Page IconTo Previous Page
Loading...

Related product manuals