EasyManua.ls Logo

Sanyo TP220 - Mechanism Exploded View

Sanyo TP220
8 pages
Print Icon
To Next Page IconTo Next Page
To Next Page IconTo Next Page
To Previous Page IconTo Previous Page
To Previous Page IconTo Previous Page
Loading...
~
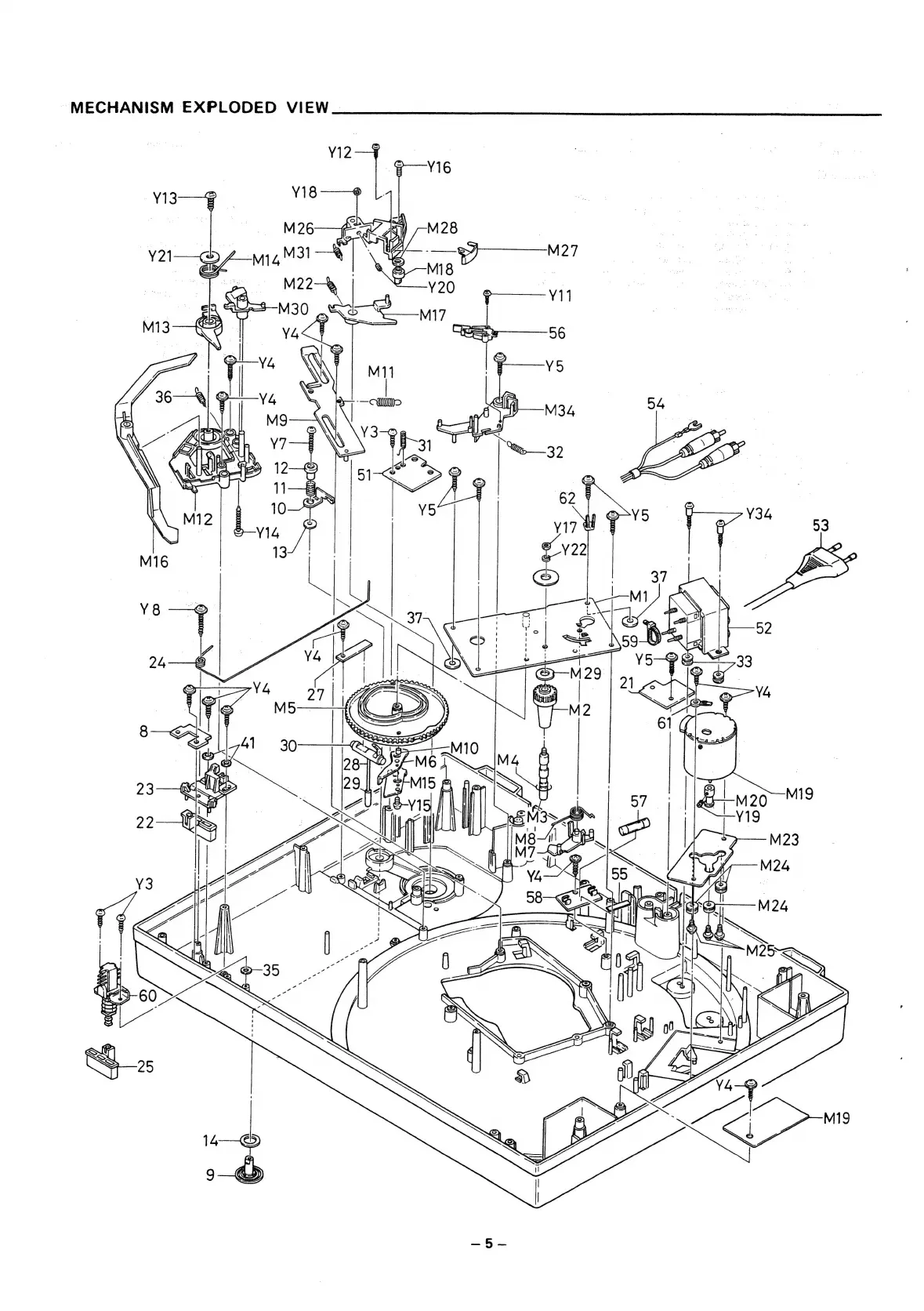
MECHANISM
EXPLODED
VIEW
_

Related product manuals