EasyManua.ls Logo

Sauder 423408 - Assembly Steps; Step 1: Initial Assembly; Step 2: Preparing Top Panel

Sauder 423408
16 pages
Print Icon
To Next Page IconTo Next Page
To Next Page IconTo Next Page
To Previous Page IconTo Previous Page
To Previous Page IconTo Previous Page
Loading...
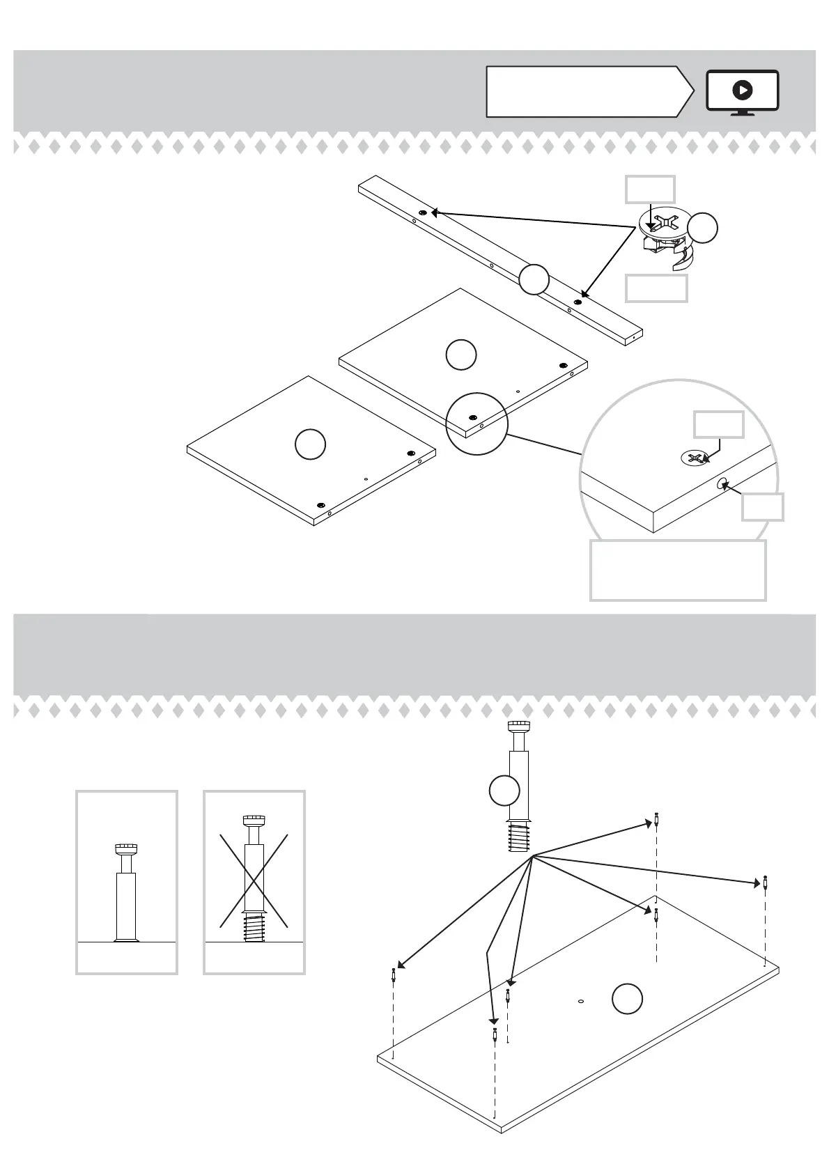
Step 1
Look for this icon. It means a
video assembly tip is available at
www.sauder.com/services/tips
Page 4 www.sauder.com 423408
B
å
Assemble your unit on a carpeted fl oor or
on the empty carton to avoid scratching your
unit or the fl oor.
å
Push six HIDDEN CAMS (1) into the ENDS (A)
and BRACE (D).
Arrow
å
Turn six CAM SCREWS (2) into the TOP (B).
Step 2
The arrow in the HIDDEN
CAM must point toward the
hole in the edge of the board.
Hole
A
D
A
(6 used)
Arrow
1
2

Related product manuals