EasyManua.ls Logo

sauermann Si-82 - Page 6

sauermann Si-82
22 pages
Print Icon
To Next Page IconTo Next Page
To Next Page IconTo Next Page
To Previous Page IconTo Previous Page
To Previous Page IconTo Previous Page
Loading...
6
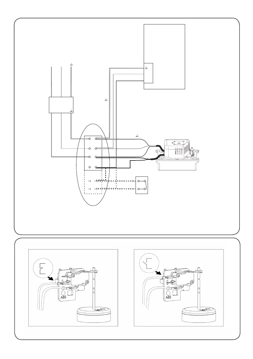
Fig. 10
L
N
(G)
L
N
(G)
L
N
(G)
Al (C)
Al (NC)
L
N
(G)
1
2
3
4
(G)
Pump power
Pump
safety switch
(L)
Fig. 11
Safety switch : excl.
SI1802SCUS11 - SI1802SCUS23
N921-03edition 1207.indd 6 27/02/2012 12:34:05

Related product manuals