EasyManua.ls Logo

Savannah Heating BCF36 - Page 21

Default Icon
68 pages
Print Icon
To Next Page IconTo Next Page
To Next Page IconTo Next Page
To Previous Page IconTo Previous Page
To Previous Page IconTo Previous Page
Loading...
Page 21 of 68
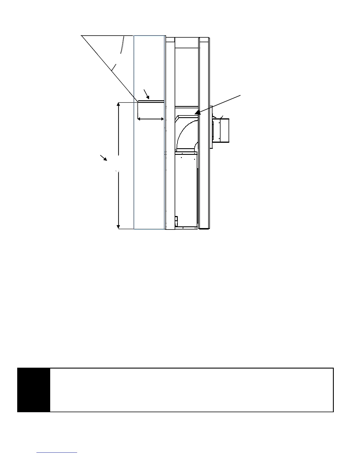
Clearances are in accordance with local installation codes and the requirements of the gas supplier.
**The mantel placement chart on this page illustrates the allowable mantel sizes and placements. The
45 degree angle can be used to determine the allowable mantel size based on the elevation above
the units upper trim.
Les dégagements sont en conformité avec les codes d'installation locaux et les exigences du
fournisseur de gaz.
** Le tableau placement manteau sur cette page illustre les dimensions et les emplacements
admissibles cheminée. L'angle de 45 degrés peut être utilisé pour déterminer la taille permise
manteau repose sur l'élévation au-dessus de la garniture unités supérieures.
CAU TION
ATTENTION
When using paint or lacquer to finish the mantel, such paint or lacquer must be heat
resistant ( up to 250
o
F ) to prevent discolorations.
Lors de l'utilisation de peinture ou de laque à la fin de la cheminée, de peinture ou
laque doit être résistante à la chaleur (jusqu'à 250o F) pour prévenir la décoloration.
42.00
12.00”
Mantle
G
45°
HEAT DEFLECTOR
NOTE:
HEAT DEFLECTOR IS
REQUIRED ON TOP OF
VENTING FOR
INTERNAL CEILING OF
42” TO 47.5”.
INTERNAL CEILING OF
48” OR MORE DOES
NOT REQUIRE A HEAT
DEFLECTOR

Related product manuals