EasyManua.ls Logo

SawStop tsa-sa48 - Parts Inventory

Default Icon
31 pages
Print Icon
To Next Page IconTo Next Page
To Next Page IconTo Next Page
To Previous Page IconTo Previous Page
To Previous Page IconTo Previous Page
Loading...
3
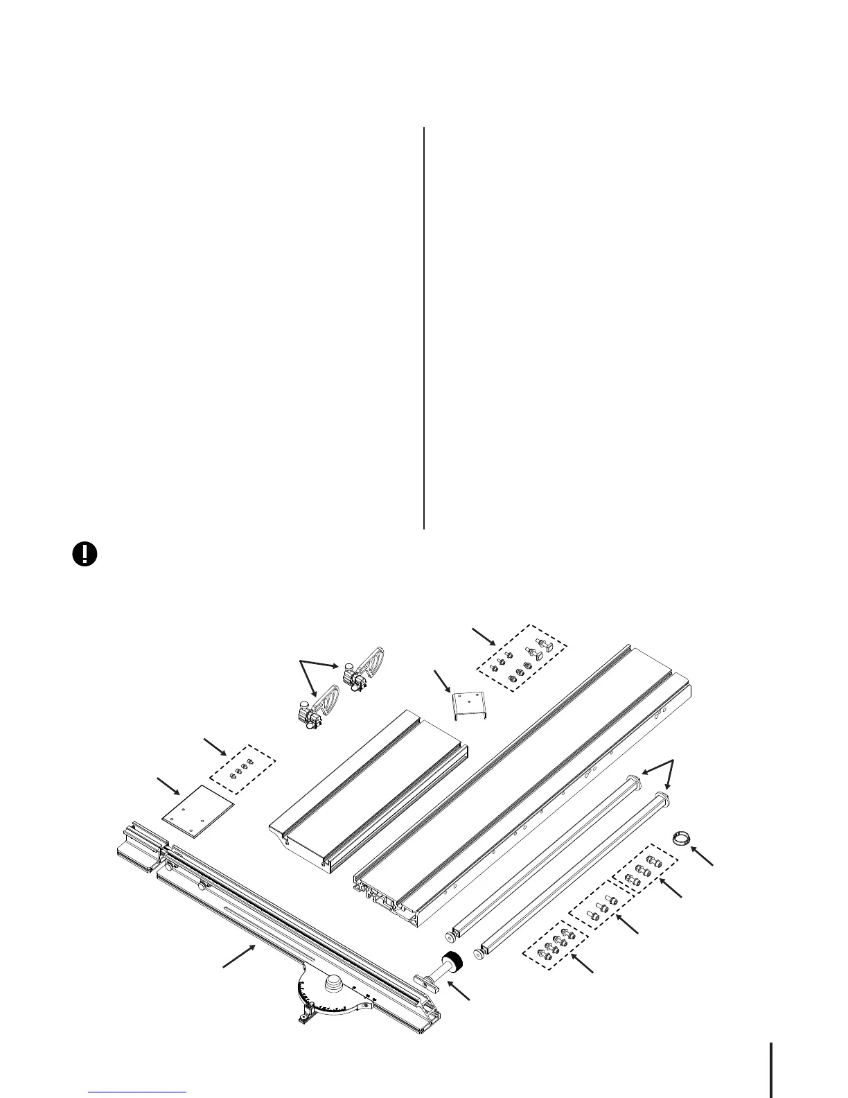
SLIDING CROSSCUT TABLE INSTALLATION
parts inventory:
A. SLIDING TABLE ASSEMBLY...............................1
B. SUPPORT LEG ASSEMBLY.................................2
C. FENCE ASSEMBLY............................................1
D. FENCE EXTENSION SUPPORT PLATE...................1
E. EXTENSION TABLE ASSEMBLY..........................1
F. FLIP STOP ASSEMBLY......................................2
G. KNURLED PIVOT HANDLE ASSEMBLY.................1
H. 2” GROMMET FOR CNS SAWS..........................1
I. SWITCH BOX MOUNTING BRACKET...................1
J. AUXILIARY HARDWARE PACK:
Cap Screw M6x1.0x16..........................6
Lock Washer M6..................................6
Flat Washer M6.....................................9
Nut M6...................................................3
T-Bolt M8x1.25x35................................2
Flat Washer M8.....................................2
Lock Nut M8.........................................2
K. PCS/CNS TABLE OR WING MOUNTING HARDWARE PACK:
Cap Screw M8x1.25x35................................4
Lock Washer M8...........................................4
Flat Washer M8.............................................8
Lock Nut M8.................................................4
L. ICS TABLE MOUNTING HARDWARE PACK:
Cap Screw M10x1.5x25................................3
Lock Washer M10.........................................3
D-style Flat Washer M10..............................3
M. ICS WING MOUNTING HARDWARE PACK:
Cap Screw M10x1.5x35...............................3
D-style Flat Washer M10..............................6
Lock Nut M10...............................................3
N. FENCE EXTENSION SUPPORT PLATE MOUNTING
HARDWARE PACK:
Cap Screw M6x1x10.....................................4
Lock Washer M6...........................................4
Flat Washer M6.............................................4
The Sliding Crosscut Table is shipped partially assembled. Please unpack the parts carefully and conrm you have received each
item on the list below.
If you cannot nd an item on this list, check the mounting locations or examine the packaging materials very
carefully. Certain components may have been pre-installed for shipping purposes.
B
C
D
F
E
A
G
H
I
J
L
K
N
(ICS)
M
(ICS)
(PCS / CNS)
(Fence Extension
Support Plate)
(Auxiliary)

Related product manuals