EasyManua.ls Logo

SCHOLTES Cooker - De Accessoires

SCHOLTES Cooker
62 pages
Print Icon
To Next Page IconTo Next Page
To Next Page IconTo Next Page
To Previous Page IconTo Previous Page
To Previous Page IconTo Previous Page
Loading...
- 27 -
De accessoires
De oven is voorzien van 5 inzethoogten (niveaus van 1 tot 5 van beneden naar boven genummerd) die afhangen
van het soort gerecht dat u gaat bereiden.
Teneinde de beste resultaten te bereiken geeft de display voor iedere bereidingswijze aan welk accessoire u moet
gebruiken en op welke hoogte het geplaatst moet worden.
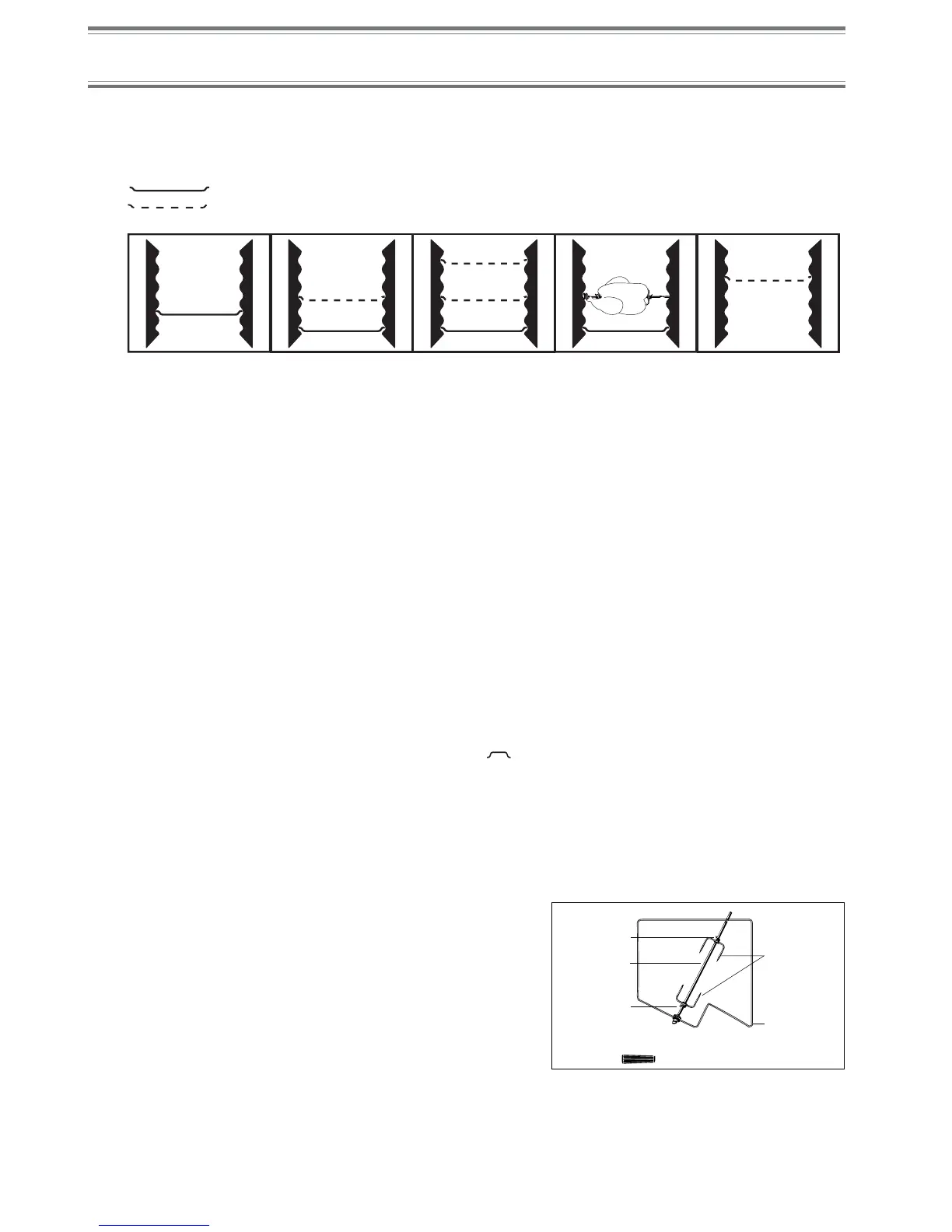
Lek/bakplaat
rooster
De lek/bakplaat
Wordt gebruikt:
als opzetvlak voor ovenschotels op een enkel niveau en voor "au bain marie" op het 2° niveau.
als bakplaat (gebak, brioches, beignets enz.) op het 2° niveau,
•als lekplaat voor druipend vet en jus, in combinatie met een rooster (vlees, vis enz.); in dit geval wordt hij
altijd op het eerste niveau geplaatst
als opzetvlak voor ovenschotels of als bakplaat voor bereiden op meer niveaus; in dit geval wordt hij op
het 1° niveau geplaatst.
Wij raden af de bakplaat op het 4° of 5° niveau te gebruiken.
De roosters
Worden gebruikt:
als opzetvlak voor ovenschotels voor bereiden op meer niveaus (3° hoogte voor bereiden op 2 niveau's en 3°
en 5° hoogte voor bereiden op 3 niveaus),
om vlees of vis op te leggen, in combinatie met de lekplaat voor het opvangen van jus; de rooster wordt op de
2° hoogte geplaatst,
om diepvrieswaren op te leggen die ontdooid moeten worden, in combinatie met de lekplaat voor het opvangen
van het water; in dit geval wordt hij op de 2" hoogte geplaatst.
N.B.
voor etenswaren van grote afmetingen (meer dan 8 kg.) wordt gebruik van de bakplaat aangeraden. Mocht gebruik
van de rooster onmisbaar zijn, plaats hem dan als volgt:(
).
De vuurvaste steen voor pizza
Deze wordt gebruikt met de functie Succès "Pizzeria"; de steen moet op de rooster worden geplaatst, op het 4°
niveau. Zie hoofdstuk "Succès bereidingen".
Het braadspit
Het braadspit bestaat uit een steun, een vleespen en een handvat.
Ga als volgt te werk:
Plaats de steun van het braadspit (A) op de 3° hoogte;
steek de vleespen door het midden van het stuk vlees dat
u gaat braden en het stuk vlees op gelijke afstand van de
uiteinden van de vleespen (B);
bevestig het vlees met de vorken (C);
bevestig de vorken in het vlees met de schroeven (D);
plaats de vleespen op de steun, met de punt van de
vleespen in het gat dat zich in de achterwand van de oven
bevindt.
Het handvat, dat van isolerend materiaal is gemaakt, zorgt ervoor dat u zich niet brandt als u het braadstuk uit de
oven haalt. Gedurende de bereidingstijd moet het handvat eraf worden geschroefd.
Plaats een lekplaat op de 1ste verdieping van de oven voor het opvangen van jus en vet, en breng de steun van het
braadspit aan op de 3° hoogte .
Schroef
(D)
Vleespen
(B)
Handvat vleespen (D)
Steun braadspit
(A)
Vork
(C)
Schroef
(D)
Achterwand

Table of Contents

Related product manuals