EasyManua.ls Logo

SCHOLTES Cooker - Oven Accessories; Oven Tray Usage; Grid Usage; Pizza Stone

SCHOLTES Cooker
62 pages
Print Icon
To Next Page IconTo Next Page
To Next Page IconTo Next Page
To Previous Page IconTo Previous Page
To Previous Page IconTo Previous Page
Loading...
- 7 -
The accessories
Your oven is fitted with 5 different oven rack heights (from 1 to 5, from the bottom up) depending on the dish.
For perfect results every time, the display indicates the accessory to use and the recommended oven rack for each
cooking mode.
oven tray
grid
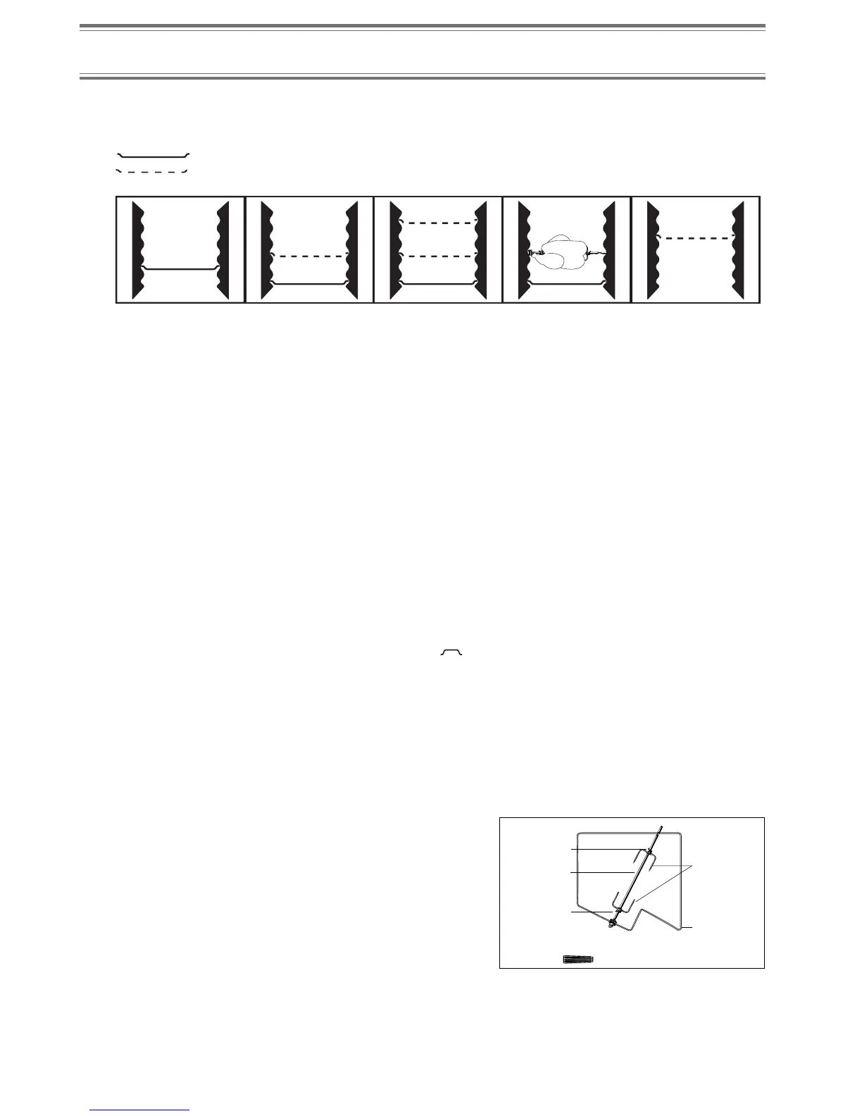
The oven tray
Use it:
as a dish support for all dishes when cooking on one rack only and in Bain Marie cooking on rack 2,
as a dish support (flaky pastries, tarts, choux pastry,...) on rack 2,
as a dripping pan to catch juices and fat dripping from food situated on the grid (meat, fish, ...); in this case,
always place it on rack 1.
as a dish support for multilevel cooking; in this case, place it on rack 1.
We advise against using the oven tray on the 4th and 5th racks from the oven bottom.
The grids
Use them:
as a dish support for multilevel cooking (rack 3 when cooking on 2 racks and rack 3 and 5 when cooking on
3 racks),
as a support for the meat or fish and the oven tray to catch any dripping fat or juices; in this case, the grid
should be placed on rack 2,
as a support for the food to be defrosted and the oven tray to catch any melting liquids; in this case, the grid
should be placed on rack 2,
NOTE
If you wish to cook food of considerable dimensions (weighing more than 8 kg), we recommend you use the oven
tray. If using the grid is unavoidable, turn it upside down (
).
The pizza stone
Used with the Succès "Pizzeria" function, this stone should be placed on the grid, positioned on rack 4. Please read
the chapter entitled "Succès Cooking".
The turnspit
The turnspit consists of a support, a spit and a handle.
Proceed as follows:
Place the support (A) on rack 3,
Centre the meat on the spit, making sure you place it at an
equal distance from both ends of the spit (B),
Make sure the meat is kept firmly in place by the forks (C),
Set the forks in the meat using the wing nuts (D),
Secure the spit onto the support, making sure the rear of
the spit is seated in the hollow at the back of the oven.
The removable handle is heatproof to avoid scalding yourself when
removing the roast at the end of cooking. The handle should be
removed during cooking.
Use the oven tray on rack 1 to catch any cooking juices or fat, and place the turnspit support on rack 3.
Screw
(D)
Spit
(B)
Spit handle (D)
Rotisserie
support (A)
Fork
(C)
Screw
(D)
back

Table of Contents

Related product manuals