EasyManua.ls Logo

SCHOLTES Cooker - Das Zubehör

SCHOLTES Cooker
62 pages
Print Icon
To Next Page IconTo Next Page
To Next Page IconTo Next Page
To Previous Page IconTo Previous Page
To Previous Page IconTo Previous Page
Loading...
- 47 -
Das Zubehör
Der Backofen verfügt über 5 Ebenen zum Einschieben der Gerichte (Einschubleisten von 1 bis 5, von unten nach
oben nummeriert), je nach dem gewünschten Garvorgang.
Zur Erreichung optimaler Back/Bratergebnisse zeigt das Display für jede Garmethode das zu benutzende Zubehör
und die empfohlene Einschubhöhe an.
Fettpfanne/Backblech
Backrost
Die Fettpfanne bzw. das Backblech
wird verwendet:
als Auflagefläche für Back/Bratbehältnisse jeder Art bei allen Garvorgängen auf einer Ebene, und zum
Garen im Wasserbad auf Einschubhöhe 2,
als Auflagefläche für Speisen (Kuchen, Torten, Gebäck usw.) auf Einschubhöhe 2,
als Auffangschale für Fleischsäfte und Fett, wenn der Backrost benutzt wird (Fleisch, Fisch usw.); in
diesem Fall immer auf Einschubhöhe 1 positionieren.
als Auflagefläche für Back/Bratbehältnisse oder Speisen beim Garen auf mehreren Ebenen; in diesem Fall
auf Einschubhöhe 1 positionieren.
Wir raten davon ab, die Fettpfanne bzw. das Backblech auf Einschubhöhe 4 und 5 zu benutzen.
Die Grillroste
werden verwendet:
als Auflagefläche für Back/Bratgefäße beim Garen auf mehreren Ebenen (Einschubhöhe 3 zum Garen auf
zwei Ebenen und Einschubhöhe 3 und 5 beim Garen auf 3 Ebenen)
als Auflagefläche für Fleisch und Fisch, kombiniert mit der Fettpfanne zum Auffangen der austretenden
Flüssigkeit; in diesem Fall wird der Grillrost auf Ebene 2 eingeschoben,
als Auflagefläche für aufzutauende Nahrungsmittel, kombiniert mit der Fettpfanne zum Auffangen der
Flüssigkeit; in diesem Fall wird der Grillrost auf Ebene 2 eingeschoben.
HINWEIS
Zum Garen großer Speiseportionen (mehr als 8 kg Gewicht) empfehlen wir, die Fettpfanne zu benutzen. Sollte
jedoch der Einsatz des Grillrostes unerlässlich sein, empfehlen wir Ihnen, diesen umgedreht einzuschieben (
).
Der Pizza-Stein
Dieser wird in der Betriebsweise Succès "Pizzeria" eingesetzt. Er wird auf den Grillrost gelegt und auf Einschubhöhe
4 eingeschoben. Wir verweisen auf den Abschnitt "Garvorgänge Succès"
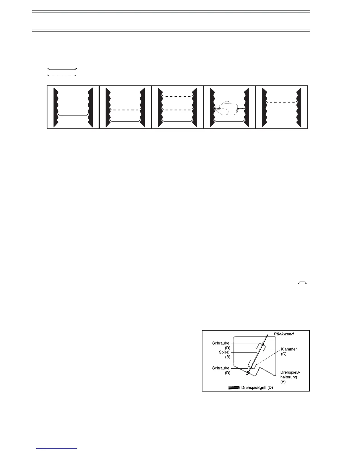
Der Drehspieß
Der Drehspieß besteht aus einer Halterung, dem Spieß und einem Griff.
Zur Benutzung verfahren Sie wie folgt:
Schieben Sie die Halterung des Drehspießes (A) auf
Einschubhöhe 3 ein;
Spießen Sie den Drehspieß in die Mitte des zu bratenden
Fleisches und positionieren sie das Fleisch an einer Stelle,
die gleichweit vom Ende des Spießes (B) entfernt ist;
Befestigen Sie das Fleisch mithilfe der Klammern (C);
Befestigen Sie die Klammern im Fleisch mit den Schrauben (D);
Setzen Sie die Bratspießhalterung ein, und klemmen Sie das
hintere Ende des Spießes in das Loch, das sich auf der Rückwand
des Backofens befindet.
Der verlängerbare Griff aus Isoliermaterial schützt beim Herausnehmen des Grillgutes vor Verbrennungen. Während
des Garvorgangs muss der Griff abgeschraubt sein.
Schieben Sie zum Auffangen des Fleischsaftes die Fettpfanne auf Einschubhöhe 1, und die Drehspießhalterung
auf Einschubhöhe 3.

Table of Contents

Related product manuals