EasyManua.ls Logo

SCHUNK RH 918 - Wartung; Maintenance

SCHUNK RH 918
9 pages
Print Icon
To Next Page IconTo Next Page
To Next Page IconTo Next Page
To Previous Page IconTo Previous Page
To Previous Page IconTo Previous Page
Loading...
6
Montage- und Betriebsanleitung für
2-Finger-Parallelgreifer
Type RH 918 / RH 9010
Assembly and Operating Manual for
2-Finger-Parallel-Gripper
Type RH 918 / RH 9010
6.2 Anschluss des Greifers
ACHTUNG!
Beim Anschließen des Greifers muss die Energie-
versorgung abgeschaltet sein. Beachten Sie auch die
Sicherheitshinweise auf den Seiten 3 und 4.
HINWEIS:
Verwenden Sie zum Anschließen des Greifers Drosselrück-
schlagventile (Abluft gedrosselt).
Anforderung an die Druckluftqualität nach ISO 8573-1: 6 4 4.
7. Wartung
Die Greifer sind wartungsfrei.
Bei Verschmutzung reinigen Sie den Greifer vorsichtig mit einem
weichen Tuch.
Verwenden Sie kein Lösungsmittel.
8. Zubehör für RH 918
(auf besondere Bestellung)
Näherungsschalter
Technische Daten:
Spannung: 10 30 V/DC
Restwelligkeit: max. 15 %
Schaltstrom max.: 200 mA
Schalthysterese: 15 % vom Nennschaltabstand
Temperaturbereich: 25°C bis +70°C
Schaltfrequenz max.: 1000 Hz
Spannungsabfall: 1.5 V
Schutzart nach DIN EN 60529: IP 67*
* für die Rundsteckverbindung nur im verschraubten Zustand
6.2 Connection
CAUTION!
Before connecting the gripper, the air connection
must be switched off. Please also consider the safe-
ty hints on pages 3 and 4.
NOTE:
Use one-way flow control valves (exhaust air throttled) to connect
the gripper.
Standard for quality of the compressed air according to ISO
8573-1: 6 4 4.
7. Maintenance
The grippers are free of maintenance.
Only wipe clean carefully due to dirtyness.
Do not use any solvents.
8. Accessories for RH 918
(upon separate order)
Proximity switches
Technical data:
Supply voltage: 10 30 V DC
Operation voltage: max. 15%
Max load current: 200 mA
Hysterisis:
15% of nominal sensing dist.
Range of operat. temp.: 25°C ... + 70°C
Max operat. frequency: 1000 Hz
Output transistor voltage approx.: 1.5 V
Protect. class DIN EN 60529: IP 67*
* for concentric plug and socket only in screwed-in position
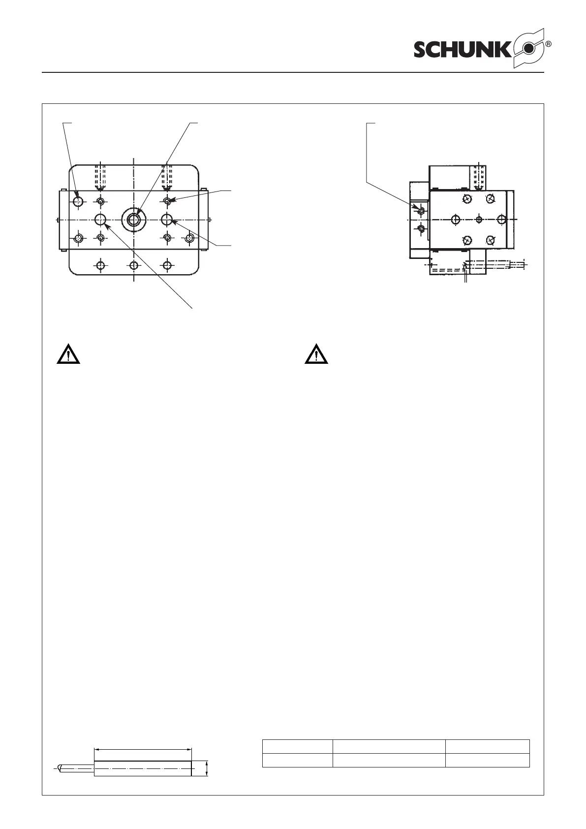
2 x 2 Befestigungsgewinde für Greiffinger
2 x 2 fastening threads for gripper fingers
RH 918 = M4
RH 9010 = M5 (11 tief/deep)
4 Befestigungsgewinde
4 fastening threads
RH 918 = M4 (7 tief/deep)
RH 9010 = M5 (11 tief/deep)
1 Zentrierbohrung für RH 918
1 centering bore for RH 918
Ø 13
+
0.02
(1.5 tief/deep)
1 Fixierbohrung für RH 918
1 fixing bore for RH 918
Ø 5
+
0.02
(5 tief/deep)
2 Fixierbohrungen für RH 9010
2 fixing bores for RH 9010
Ø 6
+0.02
(4 tief/deep)
Ø 4
25
Type Schaltfunktion / Output Ident-Nr. / Id.-No.
INW 40/S Schließer / Closer 0301504
Schaltabstand / Sensing distance: 0.8 mm

Related product manuals