EasyManua.ls Logo

Sears 721.80513 - Page 4

Sears 721.80513
20 pages
Print Icon
To Next Page IconTo Next Page
To Next Page IconTo Next Page
To Previous Page IconTo Previous Page
To Previous Page IconTo Previous Page
Loading...
ENGLISH
4
YOUR SAFETY FIRST
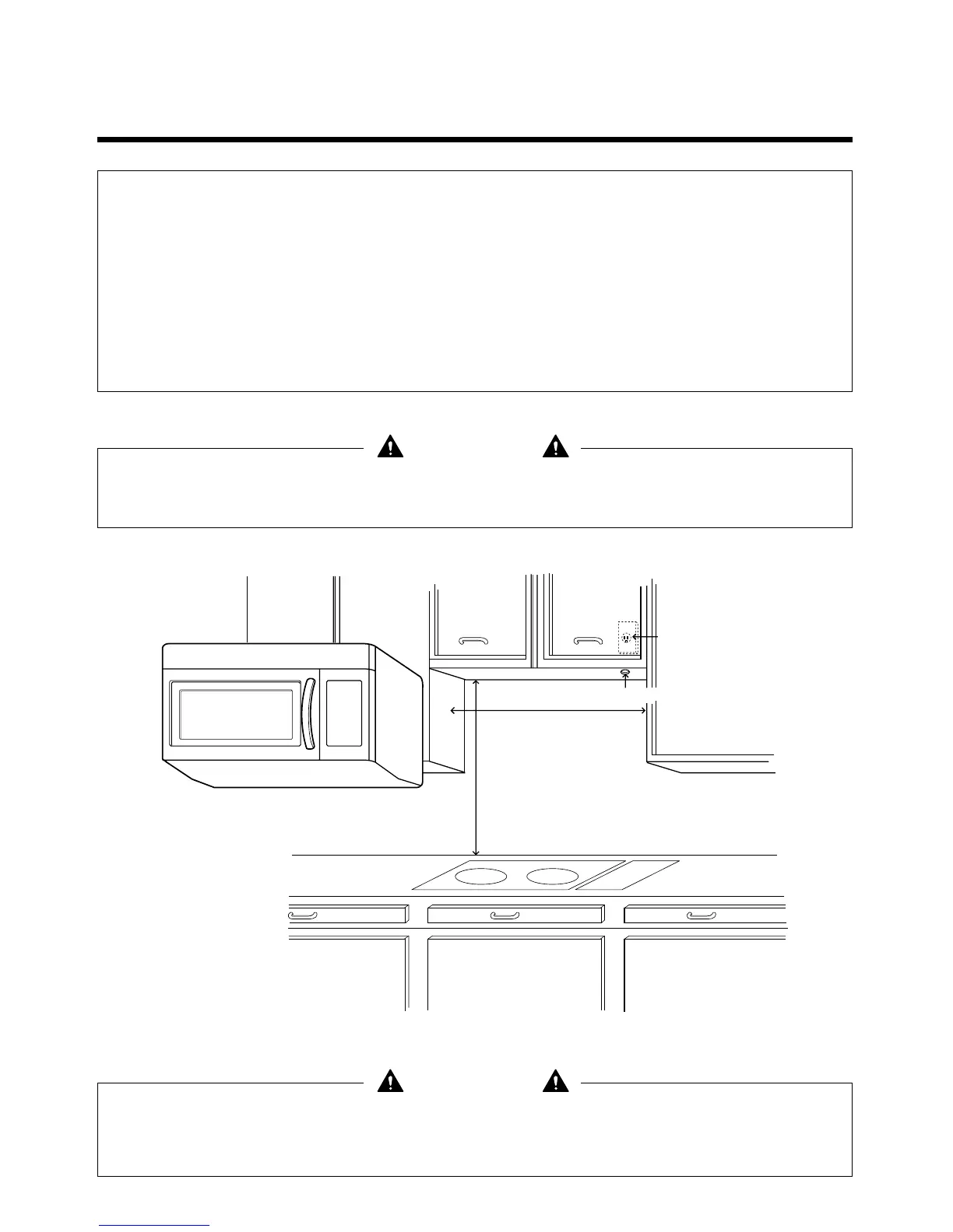
MAKE SURE YOU HAVE ENOUGH SPACE AND SUPPORT.
– Mount the oven against a flat, vertical wall, so that it is supported by the wall. The wall should be
constructed of minimum 2" x 4" wood studding and 3/8" thick drywall or plaster/lath.
– ATTACH AT LEAST ONE of the two lag screws supporting the oven to a vertical, 2" x 4" wall stud.
– DO NOT mount the microwave oven to an island or peninsula cabinet.
– BE SURE the upper cabinet and rear wall structures are able to support 150 lbs., plus the weight of any
items you place inside the oven or upper cabinet.
– Locate the oven away from strong draft areas, such as windows, doors, and strong heating vents.
– BE SURE you have enough space. See Figure 4 below for minimum vertical and horizontal clearance.
If you do not mount the oven as instructed, you risk personal injury and/or
property damage.
WARNING
30" min. cabinet opening width
30" min. clearance from bottom
of cabinet to cooking surface
or countertop before installation.
Grounded Outlet
(inside upper cabinet)
Power Supply Cord Hole
(Use templates included
with installation instructions)
Figure 4
Before you begin installing the oven, PLACE A PIECE OF THE CARTON OR OTHER HEAVY MATERIAL
(a blanket) over the countertop or cooktop to protect it. Do not use a plastic cover.
Failure to protect these surfaces could result inproperty damage.
CAUTION

Related product manuals