EasyManua.ls Logo

Sharp 14LK22 - Clock Set

Sharp 14LK22
53 pages
Print Icon
To Next Page IconTo Next Page
To Next Page IconTo Next Page
To Previous Page IconTo Previous Page
To Previous Page IconTo Previous Page
Loading...
13
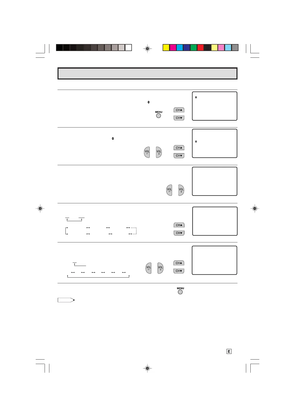
L How to set the time.
1 Press
MENU
to access the MAIN MENU screen.
2 Press
CH UP (
8
)
or
DOWN (
9
)
to move the mark to TIMER”.
3 Press
VOL (+)
or
(–)
to access “TIMER”, then press
CH UP (
8
)
or
DOWN (
9
)
to move the “ mark to “CLOCK SET”.
4 Press
VOL (+)
or
(–)
to access “CLOCK SET”.
5 Press
CH UP (
8
)
or
DOWN (
9
)
to set the hour-digit.
6 Press
VOL (+)
or
(–)
to select the minute-digit and adjust by
pressing
CH UP (
8
)
or
DOWN (
9
)
.
7 Press
MENU
to exit.
The clock settings may become incorrect due to power failure etc.
SET UP
TIMER
V IDEO ADJUST
CAPT I ONCLOSED
PARENT CONTROL
ENERGY SAVE
ON T I MER
SETCLOCK
SLEEP T IMER
Clock Set
(MAIN MENU screen)
SETCLOCK
5:00AM
SETCLOCK
5:32AM
Note:
(TIMER Select mode)
SETCLOCK
–– : ––
(CLOCK SET mode)
The indicator color changes to red.
The indicator color changes to red.
12 : 00 AM
12:00AM 1:00AM 2:00AM
11:00PM 10:00PM 9:00PM
12 : 00 AM
00 01 02
...
57 58 59
10-14 14LK22 [E].p65e 9/5/01, 6:25 PM13
Downloaded from: http://www.usersmanualguide.com/

Related product manuals