EasyManua.ls Logo

Sharp 14LK22 - Page 38

Sharp 14LK22
53 pages
Print Icon
To Next Page IconTo Next Page
To Next Page IconTo Next Page
To Previous Page IconTo Previous Page
To Previous Page IconTo Previous Page
Loading...
12
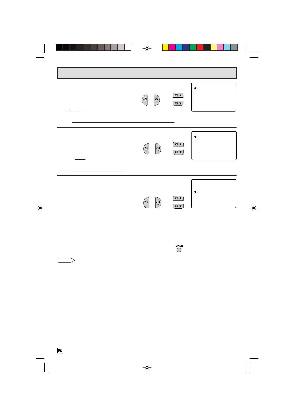
Temporizador para encender (Continuación)
10 30 AM
O
:
:
APAGADOESTAD
AUTO NECENDIDO
10 30 PM
O
:
:
ENCEN .ESTAD
AUTO NECENDIDO
5 Pulse
VOL (+)
o
(–)
para seleccionar el dígito de la hora y ajústelo
pulsando
CH UP (
8
)
o
DOWN (
9
)
.
6 Pulse
VOL (+)
o
(–)
para seleccionar el dígito de minutos y ajústelo
pulsando
CH UP (
8
)
o
DOWN (
9
)
.
7 Pulse
VOL (+)
o
(–)
para completar el ajuste del temporizador.
Pulse
CH UP (
8
)
o
DOWN (
9
)
para seleccionar “ESTADO”, y
pulse
VOL (+)
o
(–)
para seleccionar “ENCEN.” o “APAGADO”.
ON : Se activa AUTO ENCENDIDO, y enciende la unidad a la
hora deseada.
Indicador AUTO ENCENDIDO: se enciende
OFF : Se apaga AUTO ENCENDIDO
Indicador AUTO ENCENDIDO: se apaga.
8 Pulse
MENU
para salir.
Por razones de seguridad, la unidad se apaga automáticamente a los 120 minutos (TEMP.
DORMIR) después de que la unidad se encienda según el ajuste del AUTO ENCENDIDO.
(Pulse cualquier botón para cancelar el TEMP. DORMIR)
Nota:
10 00 AM
O
:
:
APAGADOESTAD
AUTO NECENDIDO
12 : 00 AM
..El color del indicador cambia a rojo.
12:00AM 1:00AM 2:00AM 10:00PM 11:00PM
..
10 : 00 PM
. El color del indicador cambia a rojo.
00 10 20 30 40 50
..
10-14 14LK22 [ES].p65e 9/5/01, 6:41 PM12
Downloaded from: http://www.usersmanualguide.com/

Related product manuals