EasyManua.ls Logo

Sharp 29A-SX1 - Page 25

Sharp 29A-SX1
86 pages
Print Icon
To Next Page IconTo Next Page
To Next Page IconTo Next Page
To Previous Page IconTo Previous Page
To Previous Page IconTo Previous Page
Loading...
25
29A-SX1
29A-SX5
29A-SX8
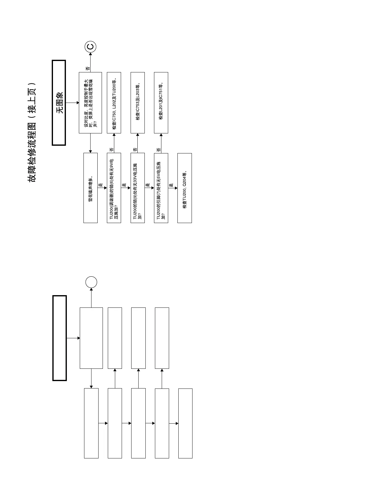
Check TU200, Q204 etc.
Does 5V appear at pin (7) of
TU200.
Check L201, IC751 etc.
No
Yes
TROUBLE SHOOTING TABLE (Continued)
NO PICTURE
Does the snow noise appear
on the picture tube at max
contrast and brishtness
control?
C
Snow noise increase.
Does 9V appear at pin (6) of
TU200 (TUNER).
Check IC750, L202, TU200
etc.
No
Does 33V appear at pin (9) of
TU200.
Check IC753, L203 etc.
Yes
No
Yes
No

Related product manuals