EasyManua.ls Logo

Sharp KH-3I25NT0K-EU - Инструкции За Безопасност Към Лицето, Извършващо Монтажа; Монтаж; Монтаж И Подготовка За Употреба

Sharp KH-3I25NT0K-EU
118 pages
Go to English
To Next Page IconTo Next Page
To Next Page IconTo Next Page
To Previous Page IconTo Previous Page
To Previous Page IconTo Previous Page
Loading...
БГ - 10
2. МОНТАЖ И ПОДГОТОВКА
ЗА УПОТРЕБА
ПРЕДУПРЕЖДЕНИЕ: Монтажът на
този уред трябва да бъде изпълнен
от упълномощен сервизен служител
или квалифицирано техническо лице, в
съответствие с инструкциите от
настоящия наръчник при спазване на
местните разпоредби.
При неправилен монтаж съществува
опасност от физическо нараняване
и повреда на имущество, за
които производителят не поема
отговорност. В този случай
гаранцията няма да бъде валидна.
Преди пристъпване към монтаж се
уверете, че местните условия за
разпространение на енергия и газ
(силата и честотата на подаваното
напрежение и естеството и
налягането на газта) съответстват
на настройките на уреда. Начините
за настройване на този уред са
посочени върху етикета.
Местните закони, наредби, директиви
и стандарти, които са в сила, трябва
да бъдат спазвани (разпоредби за
безопасност, правилно рециклиране
в съответствие с нормативните
изисквания, и т.н.).
2.1 инструкции за безОпаснОст към
лицетО, извършващО мОнтажа
Общи инструкции
След като свалите опаковката от
уреда и прилежащите аксесоари
се уверете, че няма повреди.
Ако подозирате за наличието на
такива, се свържете незабавно с
упълномощен сервизен служител
или квалифициран техник, без да
използвате устройството.
Уверете се, че наоколо няма
леснозапалими или експлозивни
материали, като завеси, газови
бутилки и т.н.
Кухненският плот и останалите
мебели около уреда трябва да бъдат
устойчиви на температури от 100°C и
повече.
При монтаж на аспиратор или
кухненски шкаф върху уреда, е
необходимо да бъдат спазени
безопасните отстояния, посочени
по-долу.
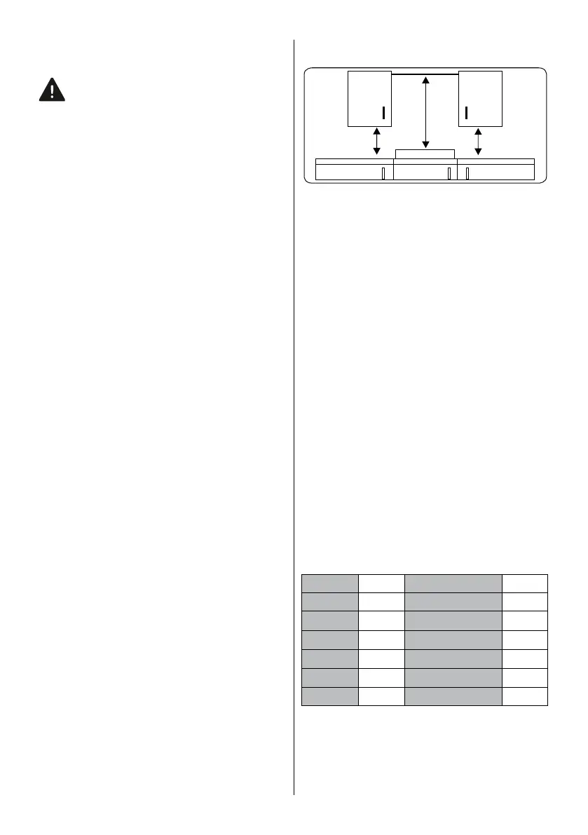
ГОТВАРСКИ ПЛОТ
Мин.
42 см
Мин.
42 см
Мин. 65 см
(с аспиратор)
Мин.
70 см (без
аспиратор)
Уредът не трябва да бъде монтиран
непосредствено върху съдомиялна
машина, хладилник, фризер, пералня
или сушилня.
В случай че дъното на уреда може да
бъде достигнато с ръка, е необходимо
да бъде поставена преграда от
подходящ материал, така че достъпът
до него да бъде ограничен.
Ако плотът е монтиран върху фурна,
тя трябва да разполага с вентилатор
за охлаждане.
Индукционният плот трябва бъде
добре вентилиран. Не позволявайте
входните и изходните въздушни
отвори да бъдат запушени.
2.2 мОнтаж
Уредът е снабден с комплект за монтаж,
включващ самозалепващо уплътнение,
фиксиращи конзоли и винтове.
Отрежете отвор с размери, посочени
в изображението. Отворът трябва да
бъде разположен върху кухненския
плот така, че след като монтажът
бъде изпълнен, да са спазени
посочените изисквания.
B (мм) 290 мин. A (мм) 50
T (мм) 520 мин. C (мм) 50
H (мм) 56 мин. E (мм) 250
C1 (мм) 270 мин. F (мм) 10
C2 (мм) 490 G (мм) 20
D (мм) 50 I (мм) 38
J (мм) 5

Table of Contents

Related product manuals