EasyManua.ls Logo

Sharp MD-MX20 - Page 30

Sharp MD-MX20
44 pages
Print Icon
To Next Page IconTo Next Page
To Next Page IconTo Next Page
To Previous Page IconTo Previous Page
To Previous Page IconTo Previous Page
Loading...
29
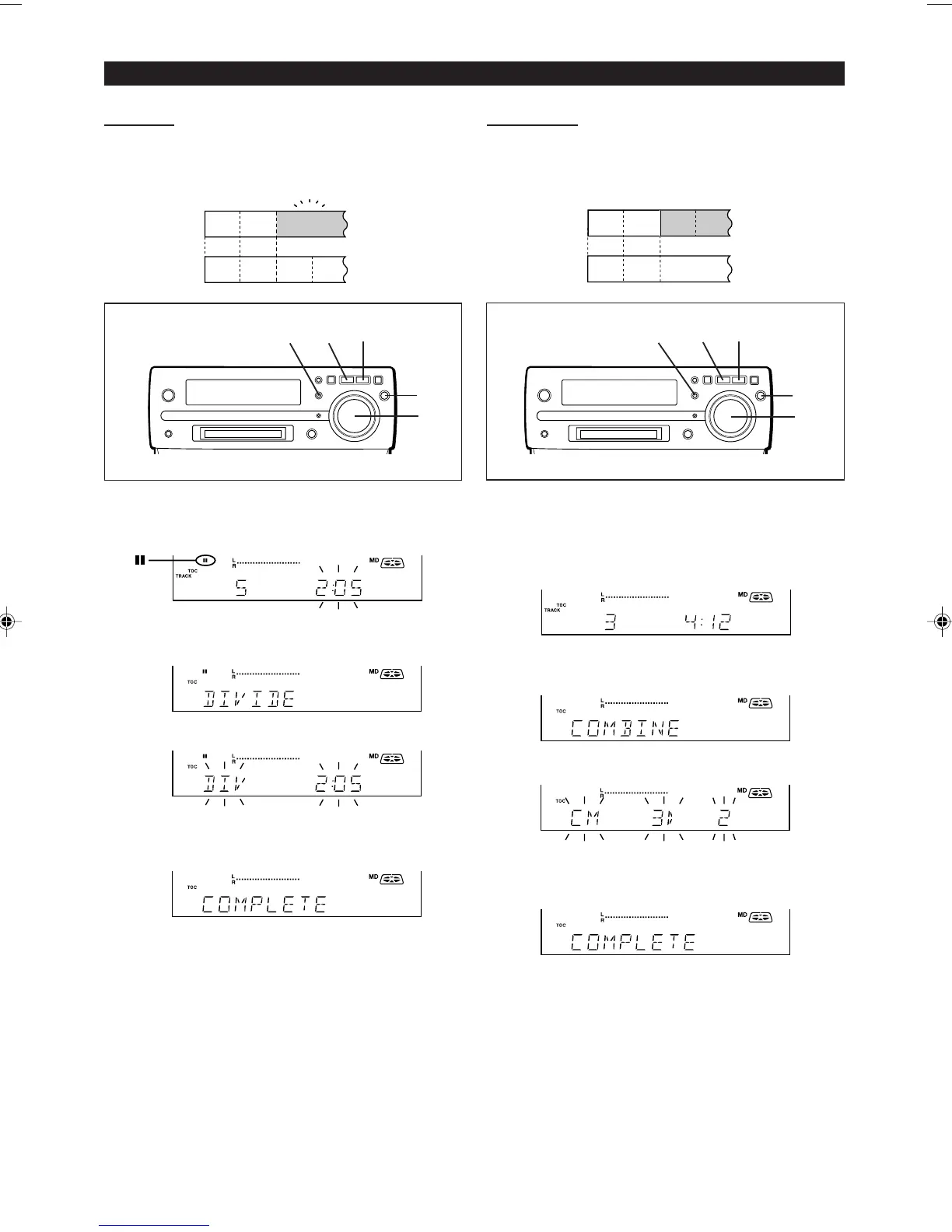
Divide Combine
1 Play the track which you want to divide into two, and
press the MD
0606
0606
06 button at the point where you want
to divide the track.
2 Press the NAME/TOC EDIT button, and within 10 sec-
onds, select "DIVIDE" using the jog dial.
3 Within 10 seconds, press the MEMORY/ENTER button.
To cancel the operation, press the MD button.
4 Press the MEMORY/ENTER button again.
The track is divided, and the unit is stopped at the begin-
ning of the second of the two tracks.
The numbers of the tracks which come after the divided
track are automatically increased by one.
When a track has been given a name is divided, the two
new tracks will have the same name. If "TOC FULL" mes-
sage is seen, reduce unnecessary tracks recorded on the
disc to make enough space (page 37).
Notes:
This unit can hold up to 255 tracks. However, even if the
number of tracks assigned has not reached 255, it might
not be possible to make any further divisions of tracks (page
37).
This function cannot be used in the random play mode and
APMS play mode.
1 While in the stop mode, select the second of the two
adjacent tracks you want to combine using the jog
dial.
Or start playing the second of the two tracks you want
to combine, and then press the MD
0606
0606
06 button.
2 Press the NAME/TOC EDIT button, and within 10 sec-
onds, select "COMBINE" using the jog dial.
3 Within 10 seconds, press the MEMORY/ENTER button.
To cancel the operation, press the MD button.
4 Press the MEMORY/ENTER button again.
The two tracks are combined, and the unit is stopped at
the beginning of the combined track.
The numbers assigned to the tracks following the com-
bined track are automatically decreased by one.
When both tracks have a name:
When only the first track has a name That name will be
used.
When only the second of the two tracks has a name
That name will be used.
When both tracks have a name The name of the first
track will be used. To rename it, see page 28.
(Continued)
A single track can be divided into two at any de-
sired position.
The numbers of the tracks which come after the newly di-
vided track will be automatically increased by one.
12 3
12 34
ABCD
ABCD
Two consecutive tracks can be combined into one
track.
The numbers assigned to the tracks following the com-
bined tracks will be decreased by one automatically.
12 3
12 3
4
CDAB
CDAB
3,4
1
2
2
MD
3,4
1
1,2
2
MD

Related product manuals