EasyManua.ls Logo

Sharp MZ-5600 - Page 62

Sharp MZ-5600
143 pages
Print Icon
To Next Page IconTo Next Page
To Next Page IconTo Next Page
To Previous Page IconTo Previous Page
To Previous Page IconTo Previous Page
Loading...
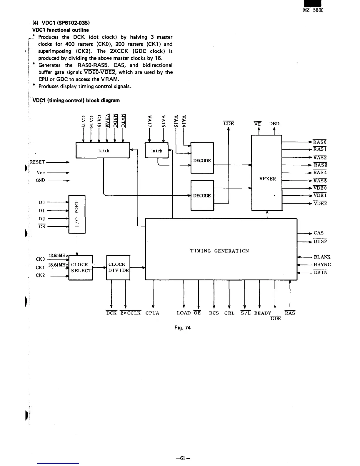
(4)
VDC1 (SP6102-035)
VDC1
functional outline
*
Produces
the DCK (dot clock) by halving 3 master
r clocks
for
400 rasters (CKO), 200 rasters (CK1) and
I ,- superimposing (CK2). The 2XCCK (GDC clock)
is
produced by dividing the above master clocks by 16.
i
!
Generates
the RASO-RAS5, CAS, and bidirectional
I buffer
gate
signals VDEO-VDE2, which
are
used
by
the
CPU
or GDC
to
access
the
VRAM.
Produces
display
timing
control signals.
L
VD~1
!timing control) block diagram
;RESET·
.,
, Vcc
,
~;
GNO
00
01
02
CS
..
r p r r r r
latm
r---
f-<
0::
0
0-
0
"-
-
"--~
r-
---
CKO
CKl
CK2
42.95MHz
28.64'H,
CLOCK
'r
CLOCK
I----->
SELECT
DIVIDE
r
<:
>
-
I
latch
l
DCK
2xCCLK
CPUA
r
v.
~
t t
WE
DBD
.....
L.....--.
DECODE
MPXER
DECOffi
.
f--
i
TIMING GENERATION
LOAD
OE
RCS
CRL S
/L
READY
RAS
GDE
Fig. 74
-61-
-
MZ-5600
-
-
-
-
-
RASO
RASl
RAS2
RAS3
RAS4
RAS5
VDEO
VDEl
VDE2
CAS
"i5TSP
BLANK
HSYNC
DBIN

Other manuals for Sharp MZ-5600

Related product manuals