EasyManua.ls Logo

Sharp MZ-5600 - Page 76

Sharp MZ-5600
143 pages
Print Icon
To Next Page IconTo Next Page
To Next Page IconTo Next Page
To Previous Page IconTo Previous Page
To Previous Page IconTo Previous Page
Loading...
I
~
I
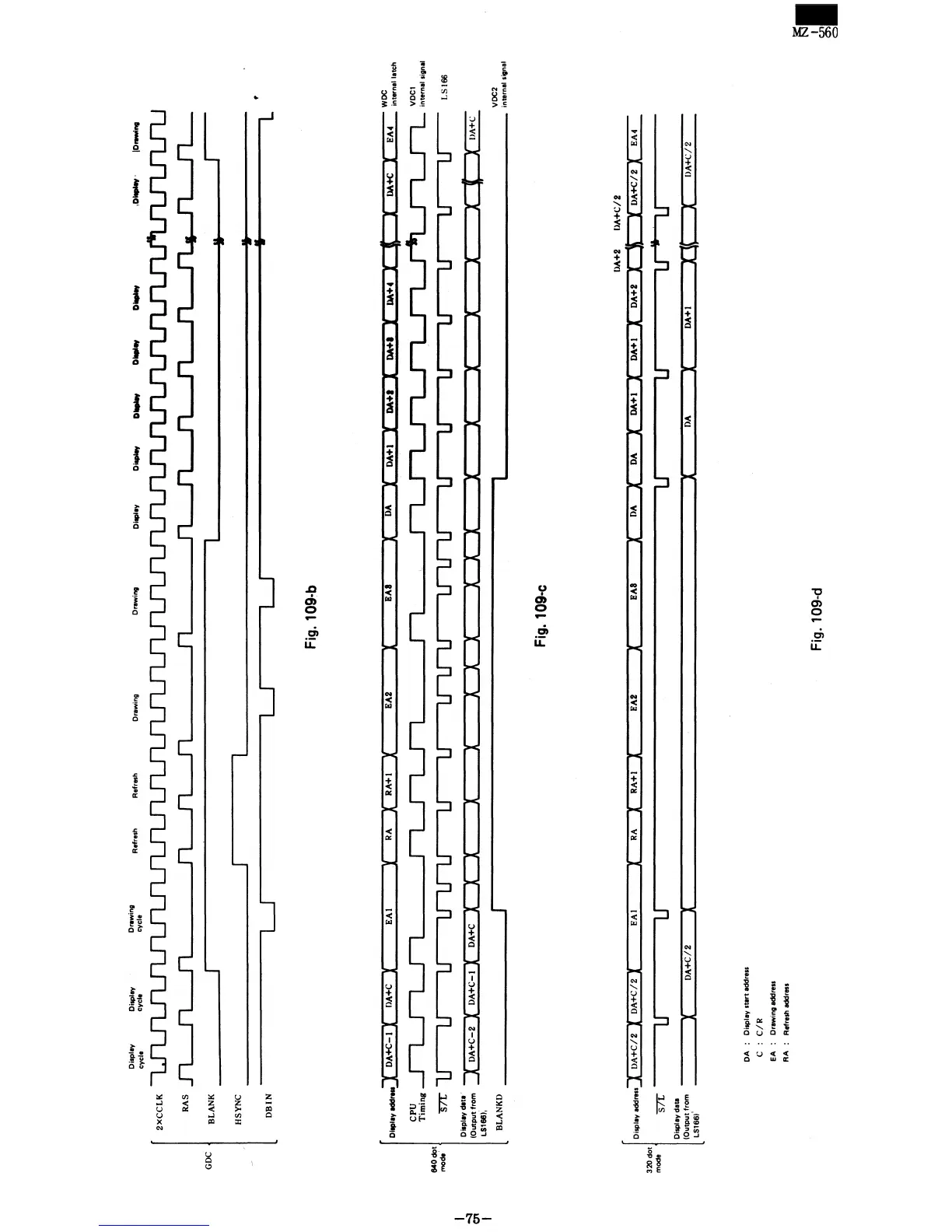
GOC
640
dot
mod.'
2XCCLK
RAS
BLANK
HSYNC
Display
cycle
Display
cycle
Drawing
cycle
Refresh Refresh
Drawing
Crawing
OiIP1ey
0
......
DIopIw
D .....
.,
DIopIw
____
--'r
---
I
____
u
--------~,---
~
-
,D_'
\0_
..
OBIN U U U L
CPU
Timing
S7L
Display
deta
{Output
from
LS16611
BLANKO
Fig.109-b
EA
1
EA2
EA8
04+.
04+1
~+4
I!A4
~::;n.'
I.tch
Fig.109-c
VDC1
internal signel
LSI66
10
_____________________________________________________________
VDC2
internal
signal
OA+2 1>A+C/2
~~:ot
S7L
U U U U U
'j
U~-----
[
o;spleV.dd
....
-JV-O""'A""'+-"C-:/"'2-,1
...
-"O""'A..,.+"'"C/""2::-'V1---E=-A""'1,....---'IIX--R=-A,...--X"'....,R"'A"'+""I
......
X.----""EA""2,...----,X
... ----,E=-A",S,....---X"'-":O"'A-.,X,.--,O"'A,...--VX--,DA"""'+":\--,X ...
....,O"'A"'+""I
......
X.--O"'A,..+",2,.....c:r=x,....,O,...,A,..,.+C.".·/.,..,2,...~
Display
data
'~:,t~~;."om
X
OA+C/2
X X
OA
I DA+I
UC:::X
DA+C/2
DA
Display
start
address
C
C/R
EA
Drawing
addreu
RA
Refresh address
Fig.109-d
~I

Other manuals for Sharp MZ-5600

Related product manuals