EasyManua.ls Logo

Sharp TINSZ2602RCZZ - Programación de Teclas Misceláneas; Importe para; Parámetros de Función para

Sharp TINSZ2602RCZZ
132 pages
Print Icon
To Next Page IconTo Next Page
To Next Page IconTo Next Page
To Previous Page IconTo Previous Page
To Previous Page IconTo Previous Page
Loading...
22
Tasa para
%
,
&
y
K
(cuando se usa como tecla conv)
*: Tasa
0,00 – 100,00 (Tasa de porcentaje)
0,0000 – 9999,9999 (Tasa de conversión de divisas)
Importe para
-
Límite de tasa porcentual para
%
y
&
• Los registros porcentuales que exceden al límite superior pueden suprimirse en el modo MGR.
• 10,00% puede registrarse como
10
o
10P00
. La tecla
P
es
necesaria sólo para los registros fraccionarios.
Parámetros de función para
%
,
&
y
-
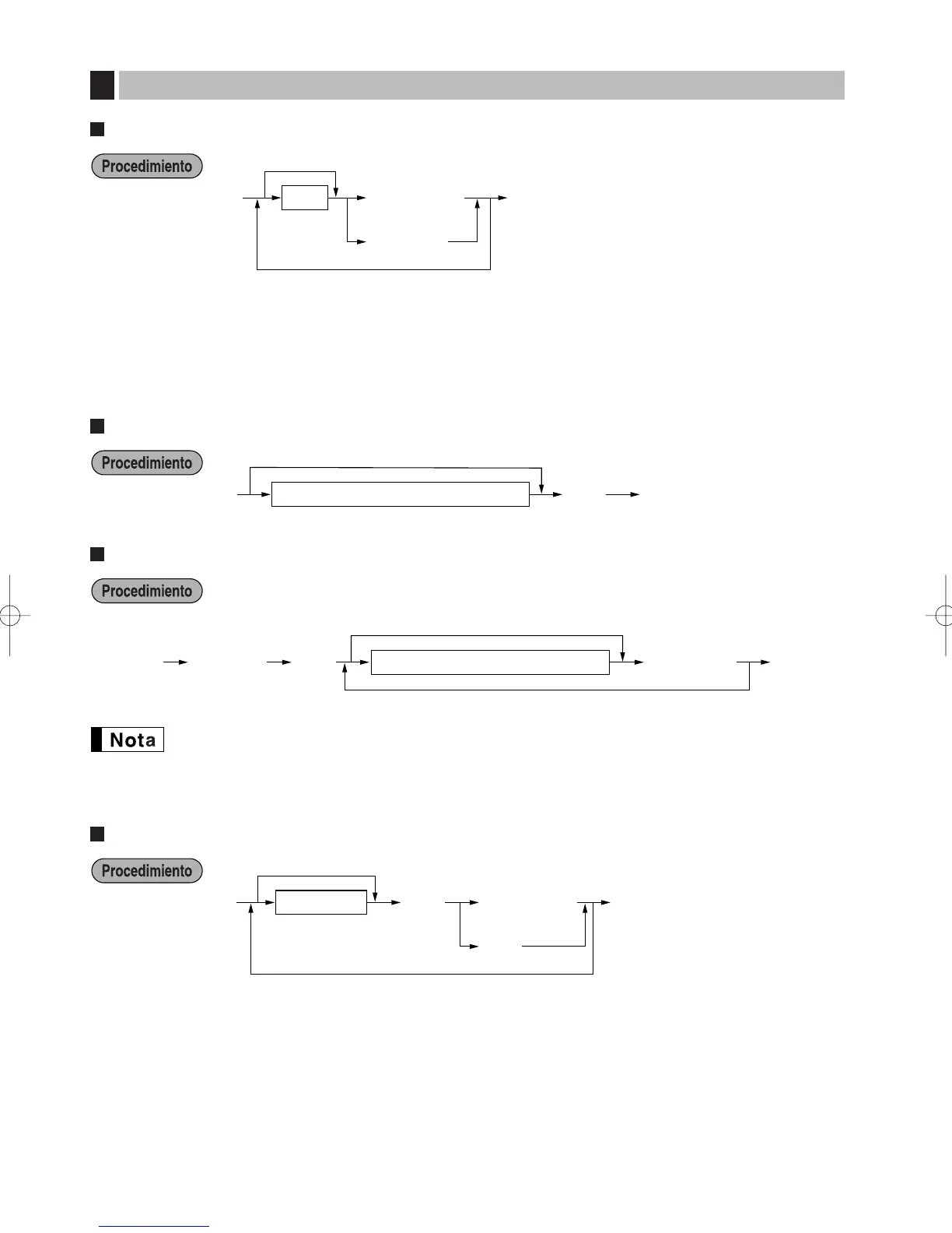
*ABCDEFGH o
%@
-
A&
Para programar otra tecla
Para programar “0” para todos los artículos
s @29
Límite de porcentaje (0,00 - 100,00%)
A
Para programar cero
Para programar otra tecla de porcentaje
o
%&
Importe de descuento (máx. seis dígitos)
A-
Para programar cero
*Tasa o
%
K
A&
Para programar otra tasa
Para programar cero
Programación de teclas misceláneas
4
Deberá emplear un punto decimal para ajustar
tasas fraccionarias.
A406_3(Sp) 09.10.13 4:42 PM Page 22

Table of Contents

Related product manuals