EasyManua.ls Logo

Sharp TINSZ2602RCZZ - Tax Programming for Automatic Tax Calculation Function; Tax Programming Using a Tax Rate

Sharp TINSZ2602RCZZ
132 pages
Print Icon
To Next Page IconTo Next Page
To Next Page IconTo Next Page
To Previous Page IconTo Previous Page
To Previous Page IconTo Previous Page
Loading...
32
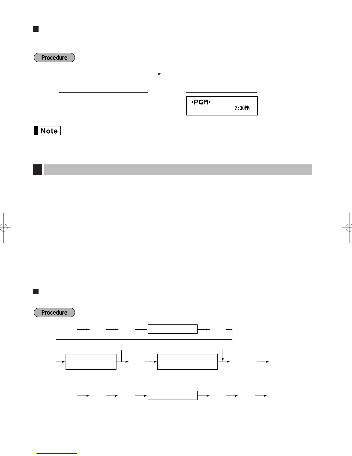
Time
For setting the time, enter the time in 4 digits (“hhmm” format) using the 24-hour format. For example, when the
time is set to 2:30 AM, enter 230; and when it is set to 2:30 PM, enter 1430.
For display and print,12-hour format is applied by default. To change it to 24-hour format, refer to
“Various Function Selection Programming 1” section (Job code 61).
Before you can proceed with ringing sales transactions, you must first program the tax that is levied in
accordance with the laws of your state. The cash register comes with the ability to program four different tax
rates. In most states, you will only need to program Tax 1. However if you live in an area that has a separate
local tax (such as a Parish tax) or a hospitality tax, the register can be programmed to calculate these separate
taxes.
When you program the tax status for a department, tax will automatically be added to sales of items assigned to
the department according to the programmed tax status for the department. You can also enter tax manually.
There are two tax programming methods. The tax rate method uses a straight percentage rate per dollar. The
tax table method requires tax break information from your state or local tax offices. Use the method which is
acceptable in your state. You can obtain necessary data for tax programming from your local tax office.
Tax programming using a tax rate
The percent rate specified here is used for tax calculation on taxable subtotals.
To delete a tax rate, use the following sequence:
s @9 v A@
*Tax number (1 to 4)
s @9 @
@ s A
When the minimum taxable amount is zero
*Tax number (1 to 4)
Tax rate
(0.0000 to 100.0000)
Minimum taxable amount
(0.01 to 999.99)
Tax Programming for Automatic Tax Calculation Function
2
Time
1430
s
PrintKey operation example
Time(max. 4 digits in 24-hour format)
s
A406_3 FOR THE MANAGER 09.10.14 9:02 AM Page 32

Table of Contents

Related product manuals