EasyManua.ls Logo

Sharp TINSZ2602RCZZ - Correction; Correction of the Last Entry (Direct Void); Correction of the Next-To-Last or Earlier Entry (Indirect Void)

Sharp TINSZ2602RCZZ
132 pages
Print Icon
To Next Page IconTo Next Page
To Next Page IconTo Next Page
To Previous Page IconTo Previous Page
To Previous Page IconTo Previous Page
Loading...
29
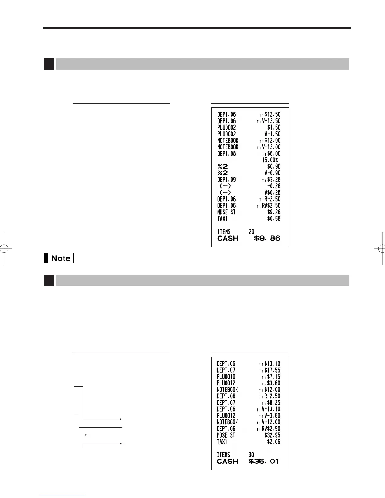
CORRECTION
If you make an incorrect entry relating to a department, PLU/sub-department, UPC, percentage (
%
and
&
),
discount (
-
) or refund, you can void this entry by pressing the
v
key immediately after the incorrect entry.
The backlight of the display will turn red when the
v
key is pressed.
You can void any incorrect department entry, PLU/sub-department entry, UPC entry or item refund entry made
during a transaction if you find it before finalizing the transaction (e.g. pressing the
A
key). This function is
applicable to department, PLU/sub-department, UPC and refund entries only.
Press the
v
key just before you press a department key,
d
key (before the first depression of the
d
key in
case open and preset entries are allowed) or
p
key. For the refund indirect void, press the
v
key after
you press the
f
key.
Correction of
a refund entry
Correction
of a
department
entry
1310 §
1755
10 p
12 p
4901305920795 p
250 f §
825
1310 v §
12 v p
4901305920795 v p
250 f v §
A
Correction
of a PLU
entry
Correction
of a UPC entry
Receipt printKey operation example
Correction of the Next-to-last or Earlier Entry (indirect void)
2
1250
§
v
2
p
v
4901305920795
p
v
600
&
v
328
ª
28
-
v
250
v
A
Receipt printKey operation example
Correction of the Last Entry (direct void)
1
A406_2 FOR THE OPERATOR 09.10.14 9:02 AM Page 29

Table of Contents

Related product manuals