EasyManua.ls Logo

Sharp XE-A203A - Page 110

Sharp XE-A203A
151 pages
Print Icon
To Next Page IconTo Next Page
To Next Page IconTo Next Page
To Previous Page IconTo Previous Page
To Previous Page IconTo Previous Page
Loading...
34
Affectation dun prix unitaire et dun rayon associé
*2: 1 à 1200 (Selon le réglage de capacité de la mémoire de la bande de détails quotidiens électronique,
jusqu’à 200.)
*3: Pour un rayon auxiliaire, réglez le montant de limitation pour l’entrée d’un prix unitaire.
Pour programmer le PLU suivant, commencez à partir de l’entrée d’un prix unitaire ou du code d’un rayon
associé sans appuyer sur la touche
A
.
Pour programmer un autre PLU, commencez à partir du début sans appuyer sur la touche
A
.
Pour annuler le code d’un PLU, utilisez la séquence suivante:
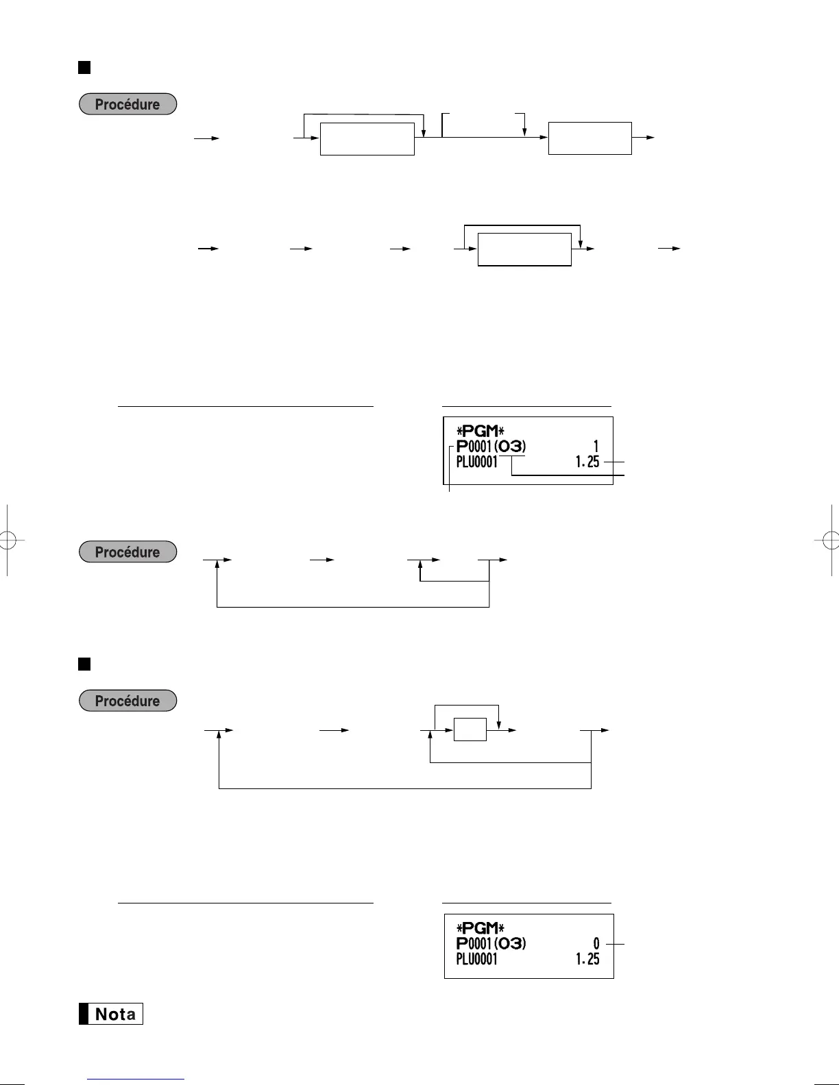
Sélection dun PLU/rayon auxiliaire
*1: 1 à 1200 (Selon le réglage de capacité de la mémoire de la bande de détails quotidiens électronique,
jusqu’à 200.)
*2: 0 pour le rayon auxiliaire ou 1 pour le PLU (implicitement: 1)
Lorsque vous programmez le dernier code d’un PLU, la séquence de la programmation sera
achevée en appuyant sur la touche
s
.
PLU/rayon auxiliaire
1
p
0
sA
ImpressionExemple de manipulation des touches
*
1
Code du PLU
p
Pour programmer 0
Pour programmer le PLU suivant
Pour programmer un autre PLU
As
*
2
A
Code du PLU
pv
Pour annuler le PLU suivant
Pour annuler un autre PLU
A
Code du PLU
Prix unitaire
Rayon associé
1
p
125
#
A
ImpressionExemple de manipulation des touches
*
2
Code du PLU
*1: Pour affecter les rayons 17 à 32, appuyez sur la touche de déplacement dun rayon à ce point.
p
Pour programmer zéro
Prix unitaire
(6 chiffres max.)
A
D
*
1
Touche du
rayon associé
*
3
*
2
Code du PLU
Lorsquun rayon associé relève des rayons 33 à 99:
p
ds
Pour programmer zéro
Code du
rayon associé
(1 à 99)
Prix unitaire
(6 chiffres max.)
A
*
3
A203_3(SECL)(F) 06.5.24 9:01 AM Page 34

Table of Contents

Related product manuals