EasyManua.ls Logo

Sharp XL-B520D(BK) - Page 66

Sharp XL-B520D(BK)
72 pages
Print Icon
To Next Page IconTo Next Page
To Next Page IconTo Next Page
To Previous Page IconTo Previous Page
To Previous Page IconTo Previous Page
Loading...
65
установки соединения, выберите этот пункт. После установки
соединения на дисплее микросистемы отображается надпись: <BT
connected>.
Устанавливать связь с микросистемой могут подключенные устрой-
ства, находящиеся в пределах радиуса действия интерфейса (10ме-
тров в пределах прямой видимости). Соединение радиоприемника с
устройством сохраняется до тех пор, пока не будет преднамеренно
разорвано.
Чтобы отключиться от устройства Bluetooth, следует нажать кнопку
и удерживать ее 3секунды, — в результате произойдет отключе-
ние от текущего устройства и начнется поиск других устройств.
Беспроводная потоковая передача музыки
через Bluetooth
В режиме Bluetooth можно осуществлять потоковую передачу звука
через микросистему. При этом используются средства управления
как устройства Bluetooth, так и микросистемы. Доступные средства
управления:
Воспроизведение/пауза: кратковременное нажатие
Предыдущая запись: кратковременное нажатие
Следующая запись: кратковременное нажатие
Также можно регулировать громкость: либо на самой микросистеме,
либо на подключенном устройстве.
ПРИМЕЧАНИЕ. Если микросистема не используется в
течение 20минут или на нее не поступает аудиосигнал,
происходит автоматический переход в режим ожидания.
Режим USB
Переведите микросистему в режим USB, нажимая кнопку до
появления на дисплее надписи <USB>.
Вставьте в гнездо USB накопитель с MP3-файлами, которые следует
воспроизвести.
ПРИМЕЧАНИЕ. Если USB-накопитель не вставляется в гнездо,
переверните его и повторите попытку. Вставлять USB-накопитель
в гнездо с усилием или пытаться вставить его под углом
запрещено, т. к. это может привести к повреждению гнезда.
ПРИМЕЧАНИЕ. Устройство способно работать
с USB-накопителями вместимостью до 64ГБ, на
которых используется файловая система FAT32.
При использовании режима USB доступны такие элементы
управления:
Кратковременное нажатие – воспроизведение/пауза
Кратковременное нажатие вызывает переход к предыдущей
записи. Продолжительное нажатие приводит к перематыванию
записи назад.
Кратковременное нажатие вызывает переход к следующей
записи. Продолжительное нажатие приводит к перематыванию
записи вперед.
Нажатие этой кнопки вызывает остановку воспроизведения.
ПРИМЕЧАНИЕ. Для перехода в другие папки на USB-накопителе
используются кнопки
и на пульте дистанционного управления.
Режим Aux in
Чтобы перевести микросистему в режим работы с входом Aux in,
следует кратковременно нажимать кнопку
до появления на
дисплее надписи <Aux in>.
Она легко и быстро подключается к внешнему источнику аудиосиг-
нала посредством соединительного кабеля с разъемами 3,5мм (не
входит в комплект).
Один конец соединительного кабеля следует вставить в разъем для
наушников (или дополнительный выход) на внешнем устройстве, а
другой — в гнездо Aux in на задней стенке микросистемы.
Чтобы начать воспроизведение через динамики микросистемы,
следует нажать кнопку воспроизведения на внешнем устройстве.
Для настройки оптимального уровня громкости следует исполь-
зовать регуляторы громкости и на внешнем устройстве, и на
микросистеме.
ПРИМЕЧАНИЕ. По окончании прослушивания с внешнего
устройства рекомендуется вынуть аудиокабель из гнезда Aux in.
Функция будильника
Настройка будильника
ПРИМЕЧАНИЕ. Прежде чем приступать к настройке
будильника, проверьте правильность времени,
отображаемого на дисплее микросистемы.
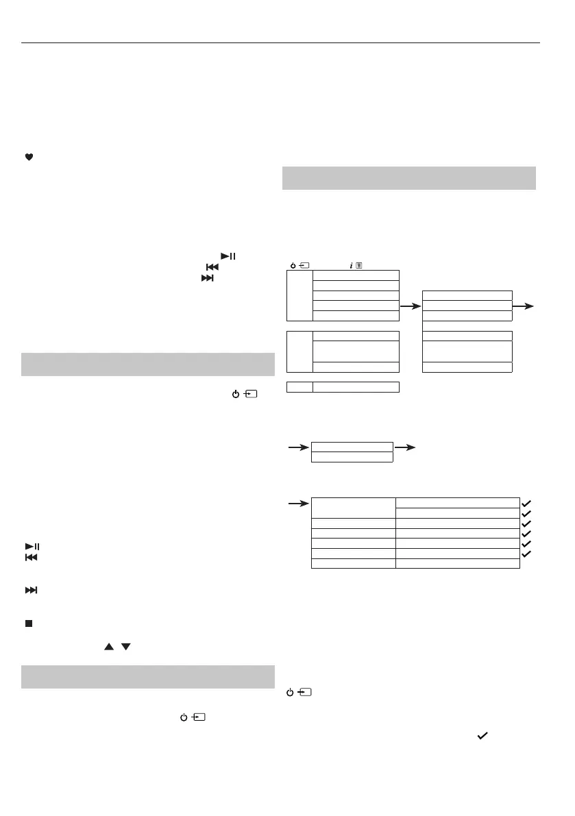
DAB+
Full Scan
Manual Tune System
DRC Sleep
Prune
Alarm
System Time
Backlight
FM
Scan setting Language
AMS
Восстановление заводских
настроек
System Software Version
BT System
Alarm
Alarm 1 Setup
Alarm 2 Setup
Alarm 1 or 2 settings
Time
Hour
Min
Duration 1, 5, 15, 30 или 60 minutes
Источник Buzzer, DAB или FM
Частота Daily, Once, Weekdays, Weekends.
Volume level 25%-100%
Alarm On или O
ПРИМЕЧАНИЕ. Если время не настроено или его не удалось
обновить по радиосигналу, то при попытке настройки будильника
на дисплее появится сообщение: <Time is not set>. В таком случае
микросистема предложит установить время. Настройка
будильника возможна только после установки времени.
Остановка, отсрочка сигнала или выключение
будильника
Чтобы остановить будильник, кратковременно нажмите кнопку
. При этом на дисплее будет отображено сообщение,<Alarm
o>. Значок будильника останется на дисплее, и если будильник не
был установлен в режим <Once>, то он сработает в то же время на
следующий день.
Чтобы отложить сигнал будильника, нажмите кнопку
. На дисплее
появится надпись <Snooze> и таймер обратного отсчета времени
продолжительностью 10 минут. После окончания обратного отсчета
будильник снова подаст звуковой сигнал. Чтобы прекратить обрат-

Related product manuals