EasyManua.ls Logo

Shibaura SG280E - Travel Direction and Mower Engagement

Shibaura SG280E
57 pages
Print Icon
To Next Page IconTo Next Page
To Next Page IconTo Next Page
To Previous Page IconTo Previous Page
To Previous Page IconTo Previous Page
Loading...
21
2121
21
FUNCTION OF EACH PART
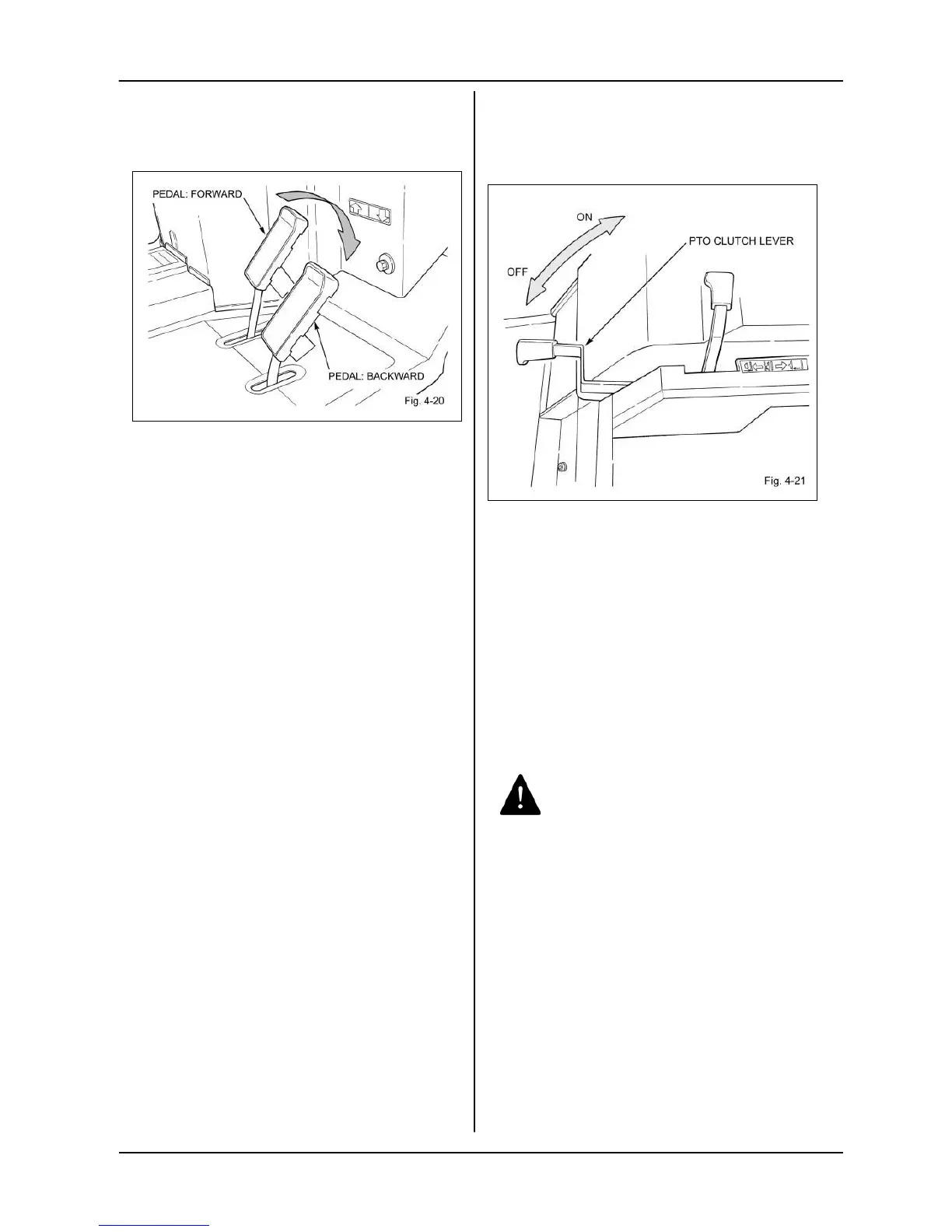
Forward/reverse pedal
Pedal to travel the vehicle.
Press forward pedal down to drive the vehicle
forward and the reverse pedal to
reverse it.
No clutch pedal is provided on this machine.
Speed is increased or decreased by the
amount the pedal is depressed.
Speed of the vehicle when starting to travel
varies dep
ending on the traveling pedal
pressing degree. When starting the vehicle
,
press
down the pedal gradually and slowly. By
releasing your foot from the pedal on a flat
ground, the pedal automatically returns to the
neutral position and the vehicle stops.
A start-
up safety device is provided. When
starting the engine, never press the pedal.
PTO clutch lever
Lever to engage
to the mower and rotate the
blades.
By moving the PTO clutch lever to “ON”
, the
blades rotate.
By moving the PTO clutch lever to
“OFF”
, the clutch is disengaged and the blade
stops rotating.
The PTO clutch lever tensions the
belt. When
engaging the clutch, move the lever slowly to
“ON”
. A safe starting device is provided. Always
start the engine at the “OFF” position.
Always keep the clutch lever at the “OFF”
position except during t
he operation. Do not
travel with the blade rotating as pebbles or som
e
other objects may be thrown into the
surrounding
area and are dangerous. When the PTO clutch
lever is turned to the “OFF”
position, the PTO
does not stop immediately. It takes some time
to
stop. Do not put your hand or other objects
into
the mower inside until the rotation stops
completely.
Warning

Other manuals for Shibaura SG280E

Related product manuals