EasyManua.ls Logo

Siemens DAC-NET - Class X (ULC DCLC) D-NET Wiring

Siemens DAC-NET
16 pages
Print Icon
To Next Page IconTo Next Page
To Next Page IconTo Next Page
To Previous Page IconTo Previous Page
To Previous Page IconTo Previous Page
Loading...
A24205-A334-B839 (Edition 14) s
P/N 315-035100-14
7
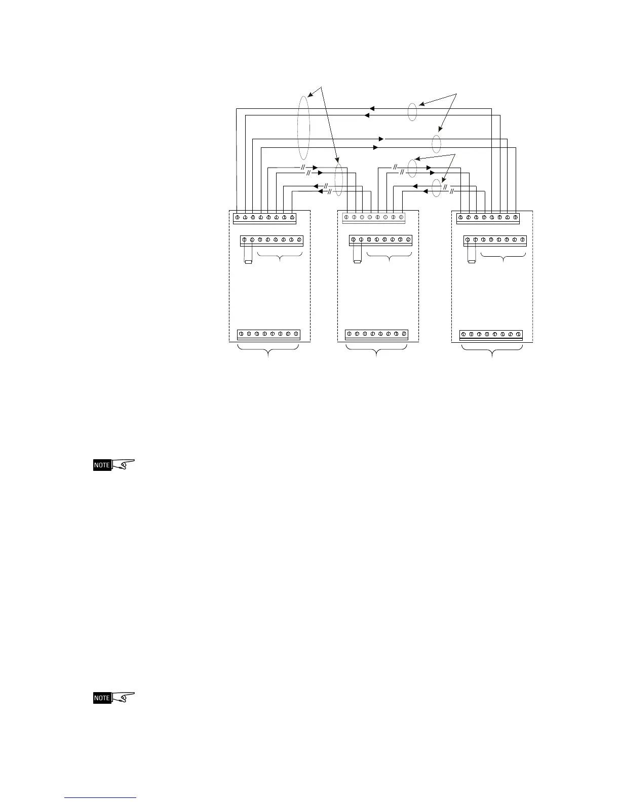
Figure 7
DAC-NET Class X (ULC DCLC) D-NET Wiring
Each connection between two nodes has to be installed in separate cable
routes.
All CAN cards and modules must be combined via CAN Bus. The CAN Bus
requires a 120 Ohm termination resistor on both ends. Use a CAN terminator
at CAN connectors and a termination resistor at screw terminals to fulfill it.
They are shipped with DAC-NET. See Figures 9-14.
All digital audio cards and modules must be connected via the ASI-Bus (LPB,
AIC, ZAC-40, ZAM-180, XDMC). The ASI-Bus consists of 4 pairs (Part of CC-
5). They require four 120 Ohm termination resistors on both ends. Use an ASI
terminator at 60-pin connectors to fulfill it. They are shipped with DAC-NET.
See Figures 9-14. The PMI/PMI-2/PMI-3 provides ASI termination at one end
when used.
The Analog Audio Bus includes three audio signals with a level of
0dBu/+6dBu (LVM microphone, LVM monitor speaker, FMT Phone). The LPB
supervises the microphone signal wiring. The supervision requires an EOL
resistor 3.3K. The EOL resistor is integrated in the LVM.
If one LVM is mounted, the jumper P7 must be set in position 1 2.
LVM default factory setting: Jumper P7 in position 1 – 2
NOTES
1. Power limited.
2. Use twisted pair.
3. Terminate shields at the entrance of
the enclosure.
4. 18AWG (Ø 0,5m) Min.
12 AWG (2,5mm²) Max.
5. The two pairs between the nodes can
be in one cable.
6. Max. cable length between DAC-NETs:
300m
(38 Ø 0,6mm)
(21 Ø 0,8mm) with cat 3 cable as
J-Y(ST)Y.
7. Max. cable length between DAC-NETs:
900m
(157 Ø 0,51mm) with cat 5 cable
as J-02YS(ST)Y.
8. Max. cable length between DAC-NETs:
700m
(30  AWG 18
(19  AWG 16
(12  AWG 14 with cable
18B FPLR or 1pr. 16B FPLR or 1pr.
14B FPLR.
9. Distance between the first DAC-NET
and last DAC-NET must not exceed
wire lengths specified in Notes 6-8.
10. 10km max. total distance around the
ring.
11. 32 DAC-NETs Max.
12. Positive or negative ground fault
detected at <5k for terminals 1-8.
Return
Return
Main
Main
Main
Return
Return out a (+)
Return in a (+)
Return in b (-)
Return out b (-)
Main in a (+)
Main out a (+)
Main out b (-)
Main in b (-)
Supervised
power limited
Supervised
power limited
can be in one cable
ONE SLOT OF CC-5 / CC-2
17
19
21
23
18
20
22
24
Do not use
FIRST DAC-NET
Do not use
1
3
5
7
2
4
6
8
11
13
15
12
14
16
9 10
RESISTOR 3.3K
P/N 140-03721 (US/CA)
C24235-A1-K14 (GE)
17
19
21
23
18
20
22
24
Do not use
Do not use
ONE SLOT OF CC-5 / CC-2
1
3
5
7
2
4
6
8
11
13
15
12
14
16
9 10
RESISTOR 3.3K
P/N 140-03721 (US/CA)
C24235-A1-K14 (GE)
17 19 21 2318 20 22 24
Do not use
LAST DAC-NET
ONE SLOT OF CC-5 / CC-2
Do not use
1
3
5
7
2
4
6
8
11
13
15
12
14
16
9 10
RESISTOR 3.3K
P/N 140-03721 (US/CA)
C24235-A1-K14 (GE)