EasyManua.ls Logo

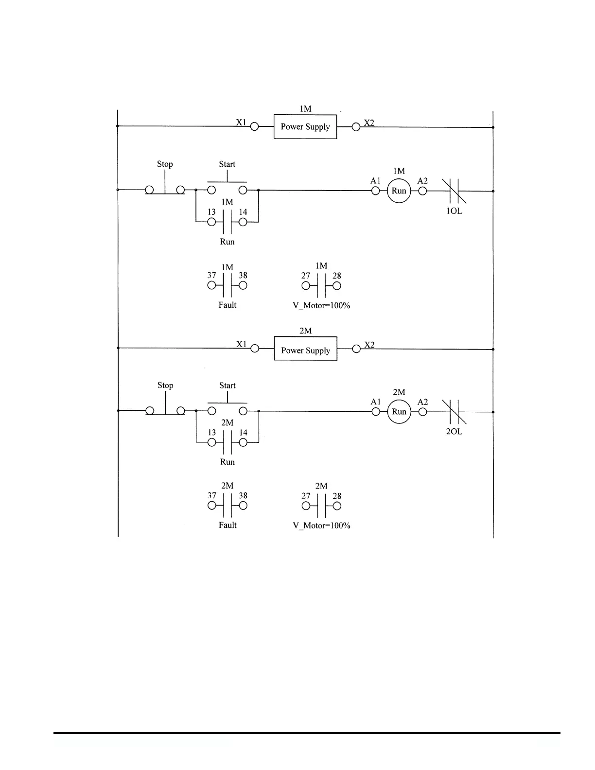
Siemens SIKOSTART 3RW34 - Control Wiring for Single Speed, Non-Reversing Motors, Wired In Line, in a Vented Enclosure (Circuit Breaker or Fusible Disconnect)

Siemens SIKOSTART 3RW34
48 pages
To Next Page IconTo Next Page
To Next Page IconTo Next Page
To Previous Page IconTo Previous Page
To Previous Page IconTo Previous Page
Loading...
Siemens Energy & Automation, Inc.
21
Figure 13
Control wiring for single speed, non-reversing motors, wired "In Line", in a vented enclosure (circuit breaker or fusible disconnect)

Table of Contents

Other manuals for Siemens SIKOSTART 3RW34

Related product manuals