EasyManua.ls Logo

Siemens SIKOSTART 3RW34 - Optional Parts and Accessories

Siemens SIKOSTART 3RW34
48 pages
To Next Page IconTo Next Page
To Next Page IconTo Next Page
To Previous Page IconTo Previous Page
To Previous Page IconTo Previous Page
Loading...
Siemens Energy & Automation, Inc.
45
10.2 Optional Parts
10.2.1 AS-i Module Catalog No. 3RW3400-0DC88
This AS-i Communications Interface Module, shown in diagram
form in figure 1, can be used with any SIKOSTART 3RW34 con-
troller. The AS-i unit allows the controller to be a slave to an AS-
i master. An instruction guide furnished with the module
describes installation, wiring and operation.
10.2.2 Lug Kits
The following spare parts are only available in the US.
For parts outside the US and Canada please contact Technical
Support @ +49(0) 9131 74 3833
Email: NST.Technical-Support@ERL7.siemens.de
Table 11 lists lug kits for use with the SIKOSTART 3RW34 con-
trollers. Each kit provides a method of adapting a controller for
use with aluminum or copper power wiring. One kit contains
lugs for either the line or load side of the controller. Two kits are
required to add lugs to both line and load terminals.
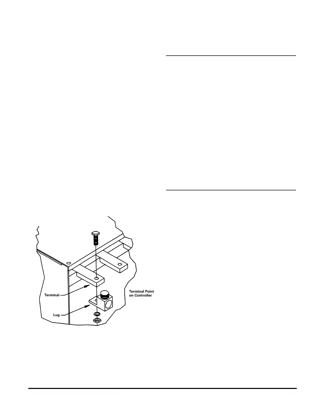
Figure 30 shows a lug in position for mounting to the terminal.
The table 11 Lug Hardware Torque column indicates the torque
required for the screw that secures the lug to the controller ter-
minal. The Wire Size Range column lists the wire sizes that the
lug can accommodate. Table 3 in this manual indicates the
torque required for the set screw that secures the wire in the
lug.
Complete installation instructions are furnished with each
lug kit.
Note:
Mount lug under terminal as shown.
Table 11 - Lug Kits
Wye Lug
Operational Lug Kit Hardware
Current Part Torque Wire Size
Rating Number (lb-in.) Range
35, 57, 69, 2/0 to #
80 & 105 91D81755011 75 14 AWG
131 & 195 91D81755012 275 350 MCM
to #6 AWG
248 91D81755013 275 (1) 600 MCM
to #6 AWG
or (2) 250 MCM
to #1/0
361 91D81755016 275 (2) 350 MCM
to #4 AWG
480 - 720 91D81755014 275 (3) 350 MCM
to #6 AWG
960 91D81755015 275 (4) 350 MCM
to #6 AWG
Torque required for power terminals set screws 75vC wire, alu-
minum/copper.
Wire Size Torque
(AWG or MCM) Lb - in
6 to 4 100
3 to 2 125
1135
1/0 to 2/0 150
3/0 to 4/0 225
250 to 400 290
500 to 600 335
10.2.3 Overload Relays
The standard SIKOSTART Controller does not include overload
protection. Please refer to SFPC-06000 for overload selection or
contact Technical Support at the number printed on the back
cover of this manual.
Figure 30

Table of Contents

Other manuals for Siemens SIKOSTART 3RW34

Related product manuals