EasyManua.ls Logo

Signode SCM-12 - Page 14

Signode SCM-12
17 pages
Print Icon
To Next Page IconTo Next Page
To Next Page IconTo Next Page
To Previous Page IconTo Previous Page
To Previous Page IconTo Previous Page
Loading...
17
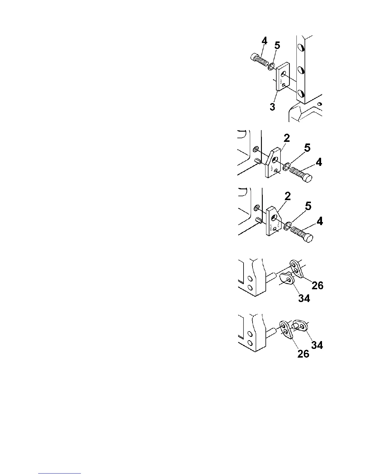
2.
Install guide (Key 3) with text 5/8 3/4" facing outward from tool.
3.
Install guide (Key 2) with text 1/2" facing outward from tool.
4.
Install guide (Key 2) with text 5/8 3/4" facing outward from
tool.
5.
Install the guide (Key 26) in the inward position. Install the link
(Key 34) in the outer position with the stem facing inwards.
NOTE: Always install guide (Key 26) with the
chamfer facing out.
6.
Install the guide (Key 26) in the outer position. Install the link
(Key 34) in the inner position with the stem facing outwards.
NOTE: Always install guide (Key 26) with the
chamfer facing out.

Related product manuals